Operation CHARM: Car repair manuals for everyone.
Manuals through 2025 now available!

Our trusted friends have launched a new website named LEMON, which has newer manuals. It also contains all the CHARM manuals.

LEMON is the spiritual successor to CHARM, I recommend you try it!

Link: lemon-manuals.la or lemon-manuals.org.ua

(Some people have issue connecting. LEMON is investigating. For now, use Firefox or change your DNS server)

Or, hide this message: temporarily or permanently

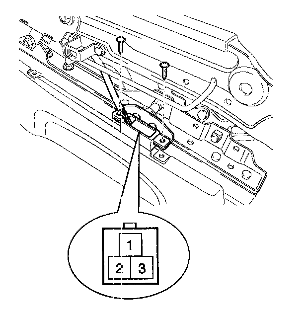
Power Seat Motor: Testing and Inspection

POWER SEAT MOTOR

INSPECTION

SLIDE MOTOR LIMIT SWITCH
1. Disconnect the limit switch and operate the limit switch.
2. Check for continuity between the terminals.
3. Make sure that the seat operation is normal in the reverse after the maximum operation.







4. If operation is not correct, replace the limit switch.

POWER SEAT MOTOR
1. Disconnect the connectors for each motor.
2. With the battery connected directly to the motor terminals, check if the motors run smoothly.
3. Reverse the connections and check that the motor turns in reverse.
4. If operation is riot correct, replace the motors.