Operation CHARM: Car repair manuals for everyone.
Manuals through 2025 now available!

Our trusted friends have launched a new website named LEMON, which has newer manuals. It also contains all the CHARM manuals.

LEMON is the spiritual successor to CHARM, I recommend you try it!

Link: lemon-manuals.la or lemon-manuals.org.ua

(Some people have issue connecting. LEMON is investigating. For now, use Firefox or change your DNS server)

Or, hide this message: temporarily or permanently

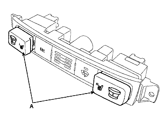
Seat Temperature Switch: Testing and Inspection

SEAT WARMER SWITCH

INSPECTION
1. Disconnect the negative (-) battery terminal.




2. Remove the seat back




3. Remove the mounting screw, center facia panel switch and then disconnect connectors.




4. Remove the seat warmer switch (A) from center facia panel switch.
5. Installation is the reverse of removal.