Operation CHARM: Car repair manuals for everyone.
Manuals through 2025 now available!

Our trusted friends have launched a new website named LEMON, which has newer manuals. It also contains all the CHARM manuals.

LEMON is the spiritual successor to CHARM, I recommend you try it!

Link: lemon-manuals.la or lemon-manuals.org.ua

(Some people have issue connecting. LEMON is investigating. For now, use Firefox or change your DNS server)

Or, hide this message: temporarily or permanently

Rear

REAR WIPER MOTOR

REMOVAL
1. Remove the tail gate trim.




2. Detach the wiper cap (A), and then remove the rear wiper arm after removing the mounting nut (B).

Tightening torque Nut (B) : 10-13 N.m (1.0-1.3 Kgf.m, 7.2-9.4 lbf.ft)





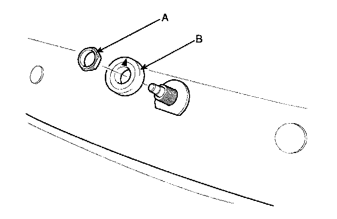
3. Detach the wiper motor cover, and then remove the rear wiper cap and, pad (B) after removing the mounting nut (A).

NOTE: During installation, of the rear wiper cap and pad, ensure the arrow on the cap assembly is pointed upwards.





4. Disconnect the rear wiper motor connector (A) then remove the rear wiper motor (B) after removing 2 bolts.

Tightening torque Nut : 7-11 Nm (0.7-1.1 kgf.m, 5.1-8.0 lbf.ft)

5. Installation is the reverse of removal.

INSTALLATION
1. Install the rear wiper arm and blade to the specified position.
# Specified position : The first defogger line from bottom of the rear window.




2. Set the rear washer nozzle on the specified spray position.