Operation CHARM: Car repair manuals for everyone.
Manuals through 2025 now available!

Our trusted friends have launched a new website named LEMON, which has newer manuals. It also contains all the CHARM manuals.

LEMON is the spiritual successor to CHARM, I recommend you try it!

Link: lemon-manuals.la or lemon-manuals.org.ua

(Some people have issue connecting. LEMON is investigating. For now, use Firefox or change your DNS server)

Or, hide this message: temporarily or permanently

Ignition Coil: Service and Repair

IGNITION COIL

REMOVAL
1. Remove the engine cover.




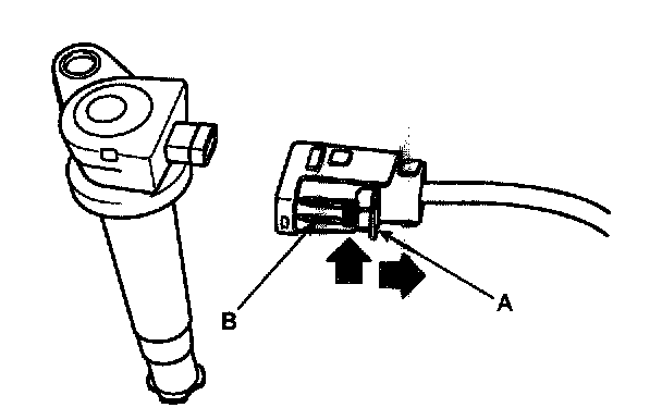
2. Disconnect the ignition coil connector (A).






NOTE: When removing the ignition coil connector, pull the lock pin (A) and push the dip (B).

3. Remove the ignition coil (B).
4. Installation is the reverse of removal.