Operation CHARM: Car repair manuals for everyone.
Manuals through 2025 now available!

Our trusted friends have launched a new website named LEMON, which has newer manuals. It also contains all the CHARM manuals.

LEMON is the spiritual successor to CHARM, I recommend you try it!

Link: lemon-manuals.la or lemon-manuals.org.ua

(Some people have issue connecting. LEMON is investigating. For now, use Firefox or change your DNS server)

Or, hide this message: temporarily or permanently

Starter Relay: Testing and Inspection

STARTER RELAY

INSPECTION
1. Remove the fuse box cover.




2. Remove the starter relay (A).




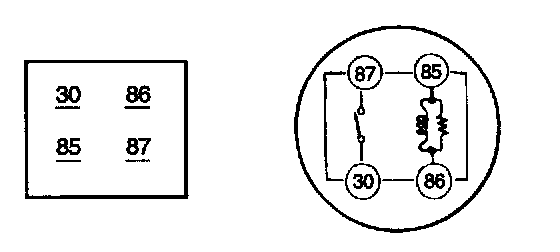
3. Using an ohmmeter, check that there is continuity between each terminal.




4. Apply 12 V to terminal 85 and ground to terminal 86.
Check for continuity between terminals 30 and 87.

5. If there is no continuity, replace the starter relay.
6. Install the starter relay.
7. Install the fuse box cover.