Operation CHARM: Car repair manuals for everyone.
Manuals through 2025 now available!

Our trusted friends have launched a new website named LEMON, which has newer manuals. It also contains all the CHARM manuals.

LEMON is the spiritual successor to CHARM, I recommend you try it!

Link: lemon-manuals.la or lemon-manuals.org.ua

(Some people have issue connecting. LEMON is investigating. For now, use Firefox or change your DNS server)

Or, hide this message: temporarily or permanently

Engine Block Reassembly

ENGINE BLOCK

REASSEMBLY





NOTE:
^ Thoroughly clean all parts to assembled.
^ Before installing the parts, apply fresh engine oil to all sliding and rotating surfaces.
^ Replace all gaskets, O-rings and oil seals with new parts.

1. Assemble piston and connecting rod.
1) Use a hydraulic press for installation.
2) The piston front mark and the connecting rod front mark must face the timing belt side of the engine.





2. Install piston rings.
1) Install the oil ring spacer and 2 side rails by hand.
2) Using a piston ring expander, install the 2 compression rings with the code mark facing upward.
3) Position the piston rings so that the ring ends are as shown.





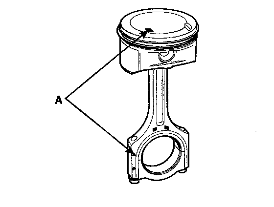
3. Install connecting rod bearings.
1) Align the bearing claw, with the groove of the connecting rod or connecting rod cap.
2) Install the bearings (A) in the connecting rod and connecting rod cap (B).





4. Install main bearings.

NOTE: Upper bearings have an oil groove of oil holes; Lower bearings do not.

1) Align the bearing claw with the claw groove of the cylinder block, push in the 5 upper bearings (A).
2) Align the bearing claw with the claw groove of the main bearing cap, and push in the 5 lower bearings.





5. Install thrust bearings.
Install the 2 thrust bearings (A) under the No. 3 journal position of the cylinder block with the oil grooves facing outward.
6. Place crankshaft on the cylinder block.
7. Place main bearing caps on cylinder block.

Installation Sequence:





8. Install main bearing cap bolts.
Tightening torque
Main bearing cap bolt 26.46 Nm (2.7 kgf.m, 19.52 ft. lbs.) + 45°

NOTE:
^ The main bearing cap bolts are tightened in 2 progressive steps.
^ If any of the bearing cap bolts in broken or deformed, replace it.
^ Always use new main bearing cap bolt.

1) Apply a light coat of engine oil on the threads and under the bearing cap bolts.
2) Install and uniformly tighten the 10 bearing cap bolts (A), in several passes, in the sequence shown.
Tightening torque: 26.46 Nm (2.7 kgf.m, 19.52 ft. lbs.)





3) Retighten the bearing cap bolts by 45° in the numerical order shown. Using SST (09221-4A000), install main bearing cap bolts.
4) Check that the crankshaft turns smoothly.
9. Check crankshaft end play.





10. Install piston and connecting rod assemblies.

NOTE: Before installing the pistons, apply a coat of engine oil to the ring grooves and cylinder bores.

1) Remove the connecting rod caps, and slip short sections of rubber hose over the threaded ends of the connecting rod bolts.
2) Install the ring compressor, check that the bearing is securely in place, then position the piston in the cylinder, and tap it in using the wooden handle of a hammer.
3) Stop after the ring compressor pops free, and check the connecting rod-to-check journal alignment before pushing the piston into place.
4) Apply engine oil to the bolt threads. Install the rod caps with bearings, and torque the bolts.
Tightening torque 19.6 Nm (2.0 kgf.m, 14.46 ft. lbs.) + 90°

NOTE: Maintain downward force on the ring compressor to prevent the rings from expanding before entering the cylinder bore.





5) Using SST (09221-4A000), install connecting rod bolts.





11. Install ladder frame (A) with 10 bolts.
Tightening torque 23.52 - 27.44 Nm (2.4 - 2.8 kgf.m, 17.35 - 20.24 ft. lbs.)





NOTE:
^ Before assembling ladder frame, the liquid sealant Loctite 5900 should be applied ladder frame.
^ The part must be assembled within 5 minutes after sealant was applied.
^ Apply sealant to the inner threads of the bolt holes.

12. Install rear oil seal.
1) Apply engine oil to a new oil seal lip.
2) Using SST (09231-H1100, 09214-3K100) and a hammer, tap in the oil seal until its surface is flush with the rear oil seal retainer edge.
13. Install balance shaft module.
14. Install water pump.





15. Install CKP sensor (A) and sensor cover.
Tightening torque 3.92 - 5.88 Nm (0.4 - 0.6 kgf.m, 2.89 - 4.34 ft. lbs.)





16. Install oil pressure sensor.
1) Apply adhesive to 2 or 3 threads.
Adhesive: MS 721-39(B) or equivalent.
2) Install the oil pressure sensor (A).
Tightening torque 7.84 - 11.76 Nm (0.8 - 1.2 kgf.m, 5.78 - 8.67 ft. lbs.)





17. Install knock sensor (A).
Tightening torque 16,66 - 25.48 Nm (1.7 - 2.6 kgf.m, 12.29 - 18.78 ft. lbs.)





18. Install oil level gauge assembly.
1) Install a new O-ring on the oil level gauge.
2) Apply engine oil on the O-ring.
3) Install the oil level gauge assembly (A) with the bolt.
Tightening torque 7.84 - 11.76 Nm (0.8 - 1.2 kgf.m, 5.78 - 8.67 ft. lbs.)





19. Install tensioner assembly integrated bracket (A).
Tightening torque 39.2 - 44.1 Nm (4.0 - 4.5 kgf.m, 28.92 - 32.53ft. lbs.)
20. Install power steering pomp bracket and power steering pump.
21. Install alternator.
22. Install A/C compressor.
23. Install cylinder head.
24. Install timing chain.





25. Install oil pan.
1) Using a razor blade and gasket scraper, remove all the old packing material from the gasket surfaces.

NOTE: Check that the mating surfaces are clean and dry before applying liquid gasket.

2) Apply liquid gasket as an even bead, centered between the edges of the mating surface. Use liquid gasket LOCTITE 5900 or equivalent (MS721-40A).

NOTE:
^ To prevent leakage of oil, apply liquid gasket to the inner threads of the bolt holes.
^ Do not install the parts if rive minutes or more have elapsed since applying the liquid gasket. Instead, reapply liquid gasket after removing the residue.
^ After assembly, wait at least 30 minutes before filling the engine with oil.





3) Install the oil pan (A).
Uniformly tighten the bolts in several passes.
Tightening torque
M8(B): 26.46 - 30.38 Nm (2.7 - 3.l kgf.m, 19.52 - 22.41 ft. lbs.)
M6(C): 9.8 - 11.76 Nm (1.0 - 1.2 kgf.m, 7.23 - 8.67ft. lbs.)
26. Remove engine stand.
27. A/T: Install drive plate.
Tightening torque117.6 - 127A Nm (12 - 13 kgf.m, 86.75 - 93.98 ft. lbs.)
28. M/T: Install flywheel.
Tightening torque 117.6 - 127.4 Nm (12 - 13 kgf.m, 86.75 - 93.98 ft. lbs.)

NOTE: Always use new flywheel (drive plate) bolts. Install and uniformly tighten the 7 bolts, in several passes.