Operation CHARM: Car repair manuals for everyone.
Manuals through 2025 now available!

Our trusted friends have launched a new website named LEMON, which has newer manuals. It also contains all the CHARM manuals.

LEMON is the spiritual successor to CHARM, I recommend you try it!

Link: lemon-manuals.la or lemon-manuals.org.ua

(Some people have issue connecting. LEMON is investigating. For now, use Firefox or change your DNS server)

Or, hide this message: temporarily or permanently

Rain Sensor: Service and Repair

RAIN SENSOR

REMOVAL

CAUTION:
The dust or foreign substance on the rain sensor have a bad effect upon the rain sensor capability, so protect the sensor surface with a cover until installing the rain sensor to bracket for accurate function.


The coupling pad on the rain sensor surface has adhesives strength, so the coupling pad could stick to the windshield by environment condition during the using time.

If separate it by force, it could be damaged. So make sure to separate the rain sensor from the windshield carefully.

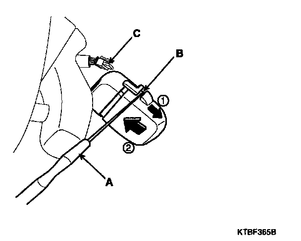
1. Remove the rain sensor cover first. Be careful not to damage the cover latch by applying excessive force. To remove the latch, pull aside the latch using the cover hole (B) with a small slotted (-) screwdriver (A).






2. Remove the wiring harness connector from sensor.
3. Rain sensor module is attached to the front windshield by glue replacing the front windshield, remove the rain sensor module from the existing front windshield and install on the new front windshield.

INSTALLATION

NOTE:
- In case of the windshield with reflection layer which reflects the infrared rays in sensing field, should install the rain sensor into the field removed the reflection layer.
- Install the rain sensor after some time and be care not to be settled the dust after installation.

1. Install the rain sensor bracket to the windshield glass using the tape.






CAUTION: It is very important that the coupling pad pushes the windshield completely to stick to each other without bubbles.

2. Connect the rain sensor connector, and then install the sensor cover.