Operation CHARM: Car repair manuals for everyone.
Manuals through 2025 now available!

Our trusted friends have launched a new website named LEMON, which has newer manuals. It also contains all the CHARM manuals.

LEMON is the spiritual successor to CHARM, I recommend you try it!

Link: lemon-manuals.la or lemon-manuals.org.ua

(Some people have issue connecting. LEMON is investigating. For now, use Firefox or change your DNS server)

Or, hide this message: temporarily or permanently

Alarm Module: Service and Repair





Removal

1. Disconnect the negative (-) battery terminal.
2. Remove the crash pad. .
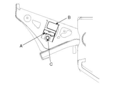
3. Disconnect the 5P connector of the SMARTRA unit and then remove the SMARTRA unit (A) and bracket (B)after loosening a shear bolt (C).

NOTE:
- Punch the shear bolt using a centering punch.
- And drill its head off with a drill bit.
- Be careful not to damage the SMARTRA unit.





Installation

1. Install the immobilizer control unit and bracket after connecting the unit connector.

NOTE:
- Tighten the shear bolt until the bolt head break off.

2. Install the crash pad.