Operation CHARM: Car repair manuals for everyone.
Manuals through 2025 now available!

Our trusted friends have launched a new website named LEMON, which has newer manuals. It also contains all the CHARM manuals.

LEMON is the spiritual successor to CHARM, I recommend you try it!

Link: lemon-manuals.la or lemon-manuals.org.ua

(Some people have issue connecting. LEMON is investigating. For now, use Firefox or change your DNS server)

Or, hide this message: temporarily or permanently

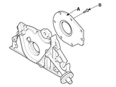
Oil Pump, Engine





Oil Pump

Install the oil pump cover (A) to front case with the 7 screws(B).

Tightening torque 5.9 - 8.8 N.m (0.6 - 0.9 kgf.m, 4.3 - 6.5 lb-ft)






Install the oil pump on the cylinder block

Tightening torque 18.6 - 23.5 N.m (1.9 - 2.4 kgf.m, 13.7 - 17.41 lb-ft)