Manuals through 2025 now available!
Our trusted friends have launched a new website named LEMON, which has newer manuals. It also contains all the CHARM manuals.
LEMON is the spiritual successor to CHARM, I recommend you try it!
Link:
lemon-manuals.la or
lemon-manuals.org.ua
(Some people have issue connecting. LEMON is investigating. For now, use Firefox or change your DNS server)
Or, hide this message:
temporarily or
permanently
Repair Procedures
Replacement 1.
Remove the rear side trim.
2.
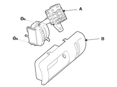
Loosen the mounting screw and then remove the rear blower controler(A) from the rear side trim.
3.
Loosen the mounting screw and then remove the rear blower cintrol unit (A) from the air vant(B).
4.
Installation is the reverse order of removal.