Operation CHARM: Car repair manuals for everyone.
Manuals through 2025 now available!

Our trusted friends have launched a new website named LEMON, which has newer manuals. It also contains all the CHARM manuals.

LEMON is the spiritual successor to CHARM, I recommend you try it!

Link: lemon-manuals.la or lemon-manuals.org.ua

(Some people have issue connecting. LEMON is investigating. For now, use Firefox or change your DNS server)

Or, hide this message: temporarily or permanently

Repair Procedures





Replacement

1. Disconnect the negative (-) battery terminal.
2. Remove the steering column upper and lower shrouds (A) after removing 3 screws.




3. Remove the light switch (A) by pushing the lock pin (B) after disconnecting the connector (C).




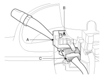
4. Remove the wiper switch (A) by pushing the lock pin (B) after disconnecting the connector (C).




5. Installation is the reverse of removal.