Operation CHARM: Car repair manuals for everyone.
Manuals through 2025 now available!

Our trusted friends have launched a new website named LEMON, which has newer manuals. It also contains all the CHARM manuals.

LEMON is the spiritual successor to CHARM, I recommend you try it!

Link: lemon-manuals.la or lemon-manuals.org.ua

(Some people have issue connecting. LEMON is investigating. For now, use Firefox or change your DNS server)

Or, hide this message: temporarily or permanently

Main Bearing





Main Bearing Caps

Install main bearing cap bolts.
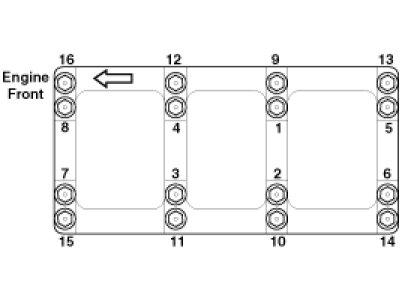
Install and uniformly tighten the bearing cap bolts, in two steps, in the sequence shown.

Tightening torque
M8 15.7 Nm (1.6 kgf.m, 11.6 lb-ft) + 90°
M10 29.4 Nm (3.0 kgf.m, 21.7 lb-ft) + 90°

NOTE:
- Use new main bearing cap bolt with engine oil applied.
- If any of the bearing cap bolts are broken or deformed, replace it.
- Washers have their direction(Up/Down)
- Assemble the bearing cap bridge on which its arrow mark faces the engine front.
- Before tightening, make the bearing caps be seated on the block firmly.






NOTE: Use SST( 09221-4A000 ), install main bearing cap bolts.






Main Bearing Size Codes

Place Of Identification Mark (Crankshaft Bearing)






Discrimination Of Crankshaft Bearing





Main Bearing Clearance, standard & limit