Operation CHARM: Car repair manuals for everyone.
Manuals through 2025 now available!

Our trusted friends have launched a new website named LEMON, which has newer manuals. It also contains all the CHARM manuals.

LEMON is the spiritual successor to CHARM, I recommend you try it!

Link: lemon-manuals.la or lemon-manuals.org.ua

(Some people have issue connecting. LEMON is investigating. For now, use Firefox or change your DNS server)

Or, hide this message: temporarily or permanently

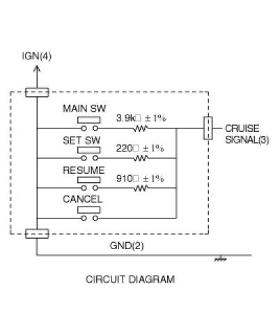
Cruise Control Switch: Testing and Inspection





Inspection

Cruise Remoter Switch Test
1. Disconnect the battery negative cable, then disconnect the positive cable, and wait at least three minutes.
2. Remove the driver's airbag .
3. Disconnect the remoter switch connector(A).




4. Check the continuity between the terminals of the connector in each switch position according to the table.
A. If there is continuity, and it matches the table, the switch is O.K.
B. If there is no continuity, replace the remoter switch.