Operation CHARM: Car repair manuals for everyone.
Manuals through 2025 now available!

Our trusted friends have launched a new website named LEMON, which has newer manuals. It also contains all the CHARM manuals.

LEMON is the spiritual successor to CHARM, I recommend you try it!

Link: lemon-manuals.la or lemon-manuals.org.ua

(Some people have issue connecting. LEMON is investigating. For now, use Firefox or change your DNS server)

Or, hide this message: temporarily or permanently

Repair procedures





Check Point By Type

Blower Check




When the blower is turned ON, blower relay becomes turned ON and battery voltage is supplied to the blower motor upper part. The current determined by the supplied battery voltage, blower motor, and register ground runs to GND through the blower motor and the selected blower single resister.
Troubleshooting






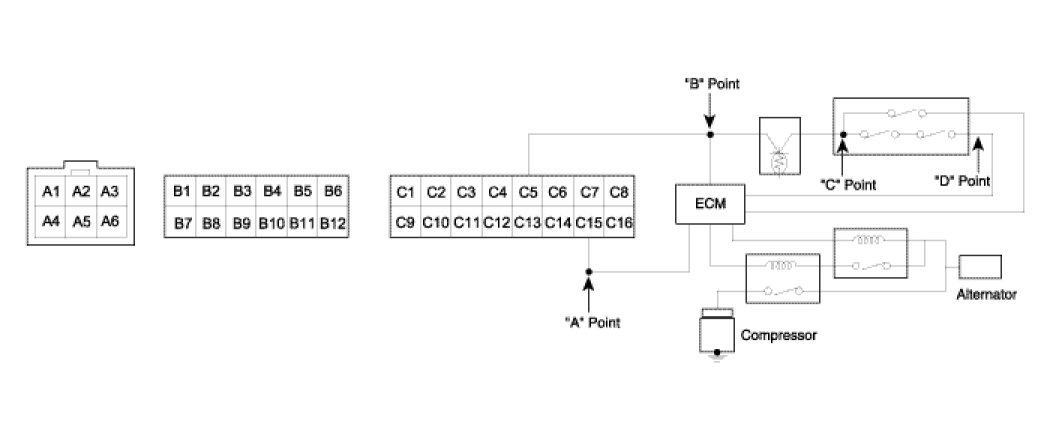
A/C Check




For A/CON output, blower must be basically operated. When blower speed 1 is selected, blower relay is turned ON and voltage is supplied to point "A".
When the supplied voltage at point "A" is entered into control connector C15 and at this moment when A/CON switch is turned ON, voltage is supplied to connector C5 at 9V or more.
Thermistor value determines whether the input power at point "B" is supplied to point "C".
The state of ON/OFF of triple switch determines whether the input power at point "C" is supplied to point "D".
Finally when the voltage is supplied to point "D", engine ECU determines whether A/CON and CONDENSER FAN turned ON/OFF.
Troubleshooting






Mode Check




As shown in the above figure, in adjusting mode switch from VENT to DEF, 0V is outputted from connector B4, 12V is supplied for B5 and mode motor works in direction of DEF. In adjusting mode switch from DEF to VENT, 0V is outputted from connector B5, 12V is supplied for B4 and mode motor works in direction of VENT. When mode actuator has to move to a certain location for its automatic control, mode feedback signal terminal moves equally in mode actuator and informs controller of location of mode actuator through mode connector B6. Comparing original value with the inputted value, it works until they are same.
Troubleshooting






Intake Check




In turning on IG and selecting indoor mode with indoor switch, 0V is outputted from connector B12, 12V is supplied for C1 and motor works in direction of indoor. In selecting outdoor mode with indoor switch, 0V is outputted from connector C1, 12V is supplied for B12 and motor works in direction of outdoor.
Troubleshooting






Temp.check




As shown in the above figure, in adjusting temp. switch from WARM to COOL, 0V is outputted from temp. connector B7, 12V is supplied for B8 and temp. motor works in direction of COOL. In adjusting temp. switch from COOL to WARM, 0V is outputted from temp. connector B8, 12V is supplied for B7 and temp. motor works in direction of WARM. When temp. actuator has to move to a certain location for its automatic control, temp. feedback signal terminal moves equally in temp. actuator and informs controller of location of temp. actuator through temp. connector B9. Comparing original value with the inputted value, it works until they are same
Troubleshooting