Operation CHARM: Car repair manuals for everyone.
Manuals through 2025 now available!

Our trusted friends have launched a new website named LEMON, which has newer manuals. It also contains all the CHARM manuals.

LEMON is the spiritual successor to CHARM, I recommend you try it!

Link: lemon-manuals.la or lemon-manuals.org.ua

(Some people have issue connecting. LEMON is investigating. For now, use Firefox or change your DNS server)

Or, hide this message: temporarily or permanently

Fuel Level Sensor: Service and Repair





Removal

WARNING:
When lifting up or down vehicle, be sure to place blocks between vehicle and lifter to prevent fuel tank from being damaged.




1. Preparation
(1) Remove the rear seat cushion .
(2) Open the service cover (A).




(3) Disconnect the fuel pump connector (A).




(4) Start the engine and wait until fuel in fuel line is exhausted.
(5) After engine stalls, turn the ignition switch to OFF position.
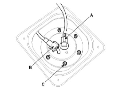
2. Disconnect the sub fuel sender connector (A) and the suction tube quick-connector (B).




3. Remove the sub fuel sender installation bolts (C) and remove the sub fuel sender.






Installation

Installation is reverse of removal.

Sub fuel sender installation bolts:
2.0 - 2.9 N.m (0.2 - 0.3 kgf.m, 1.4 - 2.2 lb-ft)


CAUTION:
When installing the Sub fuel sender, be careful not to get the seal-ring entangled.