Operation CHARM: Car repair manuals for everyone.
Manuals through 2025 now available!

Our trusted friends have launched a new website named LEMON, which has newer manuals. It also contains all the CHARM manuals.

LEMON is the spiritual successor to CHARM, I recommend you try it!

Link: lemon-manuals.la or lemon-manuals.org.ua

(Some people have issue connecting. LEMON is investigating. For now, use Firefox or change your DNS server)

Or, hide this message: temporarily or permanently

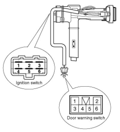
Ignition Switch: Testing and Inspection





Inspection




1. Disconnect the ignition switch connector(6P) and the door warning switch connector(6P) under the steering column.
2. Check for continuity between the terminals.
3. If continuity is not as specified, replace the switch.