Removal and Replacement
Removal
1. Remove the bumper.
2. Disconnect the smart cruise control unit connector (A).
3. Loosen the bolts and then remove the smart cruise control unit bracket (B).
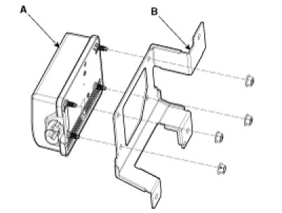
4. Loosen the nuts and then disassemble the smart cruise control unit (A) from the bracket (B).
Installation
1. Assemble the smart cruise control unit (A) to the bracket (B) correctly.
2. Install the smart cruise control unit bracket (B) on the vehicle.
3. Connect the smart cruise control connector (A) to the unit.
4. Align the smart cruise control sensor.
5. Install the bumper.