Operation CHARM: Car repair manuals for everyone.
Manuals through 2025 now available!

Our trusted friends have launched a new website named LEMON, which has newer manuals. It also contains all the CHARM manuals.

LEMON is the spiritual successor to CHARM, I recommend you try it!

Link: lemon-manuals.la or lemon-manuals.org.ua

(Some people have issue connecting. LEMON is investigating. For now, use Firefox or change your DNS server)

Or, hide this message: temporarily or permanently

Repair Procedures





Removal

1. Remove the cylinder head assembly.
2. Remove the alternator (A).




3. Remove the alternator bracket (A).




4. Remove the air conditioner compressor (A).




5. Remove the drive belt idler (A).




6. Remove the water pump pulley (A).




7. Remove the drive belt tensioner (A).




8. Remove the oil filter & cooler assembly (B).




9. Remove the lower oil pan(A).
Insert the blade of SST(09215-3C000) between the upper oil pan and the lower oil pan. Cut off applied sealer and remove the lower oil pan.





NOTE:
- Insert the SST between the lower oil pan and the upper oil pan by tapping it with a plastic hammer in the direction of (1) arrow.
- After tapping the SST with a plastic hammer along the direction of (2) arrow around more than 2/3 edge of the lower oil pan, remove it from the lower oil pan.
- Do not use the SST as a prybar. Hold the tool in position (on the gasket line) and tap in with a light hammer.
- Be careful not to damage the contact surfaces of Upper oil pan and lower oil pan.

10. Remove the upper oil pan (A).
Insert the blade of SST(09215-3C000) between the upper oil pan and the cylinder block. Cut off applied sealer and remove upper oil pan.





NOTE:
- Insert the SST between the upper oil pan and the cylinder block by tapping it with a plastic hammer in the direction of (1) arrow.
- After tapping the SST with a plastic hammer along the direction of (2) arrow around more than 2/3 edge of the upper oil pan, remove it from the upper oil pan.
- Do not use the SST as a prybar. Hold the tool in position (on the gasket line) and tap in with a light hammer.
- Be careful not to damage the contact surfaces of Upper oil pan and cylinder block.

11. Remove the crankshaft pulley (A).





NOTE:
Use the SST(flywheel stopper, 09231-2B100) to remove the crankshaft pulley bolt, after remove the starter.




12. Remove the front oil seal (A).




13. Remove the water pump (A).




14. Remove the water temperature control assembly (A).




15. Remove the O-ring from the water temperature control assembly (A).




16. Remove the timing chain lower cover (A).

[Front]





[Rear]




17. Remove the O-ring from the timing chain cover (A).




18. Remove the timing chain tensioner arm (A) and the timing chain guide (B) and then remove the timing chain.








19. Insert a set pin after compressing the oil pump chain tensioner (A) and then remove the oil pump sprocket (B) and chain (C).




20. Remove the crankshaft sprocket (A) and friction plates (B).




21. Remove the tensioner adapter (A) and the timing chain guide bolts (B).






Installation

1. Install the tensioner adapter (A) and the timing chain guide bolts (B).

Tightening torque :
Tensioner adapter bolts:
21.6 - 25.5Nm (2.2 - 2.6kgf.m, 15.9 - 18.8lb-ft)
Timing chain guide bolts :
21.6 - 25.5Nm (2.2 - 2.6kgf.m, 15.9 - 18.8lb-ft)





2. Install the crankshaft sprocket (A) with the friction plates (B).

NOTE:
Completely fix the four friction plate clips and the sprocket groove.
Align the key-home of the friction plate with the key-home of the sprocket.
Be careful for the clip not to be folded.
The block is placed at bottom up before install the timing chain system and timing chain cover assembly.





CAUTION:
The mark of friction plate should be placed top. (Engine is placed bottom up)

3. Install the oil pump chain (C) with the oil pump sprocket (B) and oil pump chain tensioner (A).

Tightening torque :
A : 9.8 - 11.8Nm (1.0 - 1.2kgf.m, 7.2 - 8.7lb-ft)
B : 21.6 - 25.5Nm (2.2 - 2.6kgf.m, 15.9 - 18.8lb-ft)





4. Install the timing chain with the timing chain tensioner arm (A) , the timing chain guide (B) and the timing chain locking tool (SST : 09231-2J600) (C).

Tightening torque :
Timing chain tensioner arm bolts :
21.6 - 25.5Nm (2.2 - 2.6kgf.m, 15.9 - 18.8lb-ft)










NOTE:
Align the timing mark of the friction plate and crankshaft sprocket.




5. Install the timing chain lower cover (A).

NOTE:
Assemble the timing chain lower cover with engine bottom up condition.

(1) The sealant locations on chain lower cover and on counter parts (cylinder head, cylinder block, and lower oil pan) must be free of engine oil and etc.
(2) Install the new gasket (A) to the timing chain lower cover.




(3) Apply liquid sealant LT 5900H or equivalent on timing chain lower cover. The part must be assembled within 5 minutes after sealant was applied.
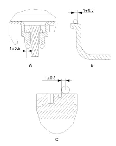
Sealant should be applied in a continuous beed in each of the areas indicated below.

Bead width :Ø2.5 ± 0.5mm










NOTE:
- During timing chain lower cover installation, care not to take off applied sealant on the timing chain lower cover by contact with other parts.
- Apply sealant in a 4.0 ± 0.5mm wide spot for the 4 T-joints (D).

(4) The dowel pins on the cylinder block and holes on the timing chain lower cover should be used as a reference in order to assemble the timing chain lower cover to be in exact position.

Tightening torque :
23.5 - 27.5N.m (2.4 - 2.8kgf.m, 17.4 - 20.3lb-ft)


[Front]





[Rear]




(5) Running the engine or performing a pressure test should not be performed within 30 minutes of assembly.
6. Install the cylinder head assembly.

NOTE:
Before install the cylinder head assembly, place the engine up right.

7. Install the camshaft assembly.
8. Remove the SST from the timing chain guide and the timing chain tensioner arm.
9. Install the timing chain to the camshaft sprocket.

















NOTE:
To install the timing chain with no slack between each shaft (cam, crank), follow the below procedure.
Crankshaft sprocket -> Timing chain guide -> Exhaust camshaft sprocket -> Intake camshaft sprocket. (LH Bank)
Crankshaft sprocket -> Timing chain guide -> Intake camshaft sprocket -> Exhaust camshaft sprocket. (RH Bank)
The timing mark of each sprockets should be matched with timing mark (color link) of timing chain during installation.

10. Install the timing chain tensioner.

Tightening torque :
78.5 - 88.3N.m (8.0 - 9.0kgf.m, 57.9 - 65.1lb-ft)


11. After rotating the crankshaft 2 revolutions in regular direction (clockwise viewed from front), confirm the timing mark.

NOTE:
Always turn the crankshaft clockwise.
Turning the crankshaft counter clockwise before building up oil pressure in the hydraulic timing chain tensioner may result in the chain disengaging from the sprocket teeth.

12. Install the O-ring to the water temperature control assembly (A).




13. Install the water temperature control assembly (A).

Tightening torque :
16.7 - 19.6N.m (1.7 - 2.0kgf.m, 12.3 - 14.5lb-ft)





14. Install the water pump (A).

Tightening torque :
19.6 - 24.5Nm (2.0 - 2.5kgf.m, 14.5 - 18.1lb-ft)





15. Using SST(09231-2J300, 09231-H1100), Install the front oil seal (A).




16. Install the crankshaft pulley (A).

Tightening torque :
392.3 - 402.1Nm(40.0 - 41.0kgf.m,289.3 - 296.6lb-ft)






NOTE:
Use the SST(flywheel stopper, 09231-2B100) to Install the crankshaft pulley bolt, after remove the starter.




17. Install the upper oil pan.
(1) Using a gasket scraper, remove all the old gasket material from the gasket surfaces.
(2) Before assembling the oil pan, the liquid sealant LT 5900H or TB1217 should be applied on upper oil pan.
The part must be assembled within 5 minutes after the sealant was applied.

Bead width :2.5mm(0.1in)






NOTE:
- Clean the sealing face before assembling two parts.
- Remove harmful foreign materials on the sealing face before applying sealant.
- When applying sealant gasket, sealant must not protrude into the inside of oil pan.
- To prevent leakage of oil, apply sealant gasket to the inner threads of the bolt holes.

(3) Install the upper oil pan.




Uniformly tighten the bolts in several passes.

Tightening torque :
9.8 - 11.8Nm (1.0 - 1.2kgf.m, 7.2 - 8.7lb-ft)





18. Install the lower oil pan.
(1) Using a gasket scraper, remove all the old gasket material from the gasket surfaces.
(2) Before assembling the oil pan, the liquid sealant TB1217H or LT5900H should be applied on lower oil pan.
The part must be assembled within 5 minutes after the sealant was applied.

Bead width :2.5mm(0.1in)






NOTE:
- Clean the sealing face before assembling two parts.
- Remove harmful foreign materials on the sealing face before applying sealant.
- When applying sealant gasket, sealant must not protrude into the inside of oil pan.
- To prevent leakage of oil, apply sealant gasket to the inner threads of the bolt holes.

(3) Install the lower oil pan.




Uniformly tighten the bolts in several passes.

Tightening torque :
9.8 - 11.8Nm (1.0 - 1.2kgf.m, 7.2 - 8.7lb-ft)





19. Install the oil filter & cooler assembly (B).

Tightening torque :
19.6 - 23.5Nm ( 2.0 - 2.4kgf.m, 14.5 - 17.4lb-ft)





20. Install the drive belt tensioner (A).

Tightening torque :
19.6 - 23.5Nm (2.0 - 2.4kgf.m, 14.5 - 17.4lb-ft)





21. Install the water pump pulley (A).

Tightening torque :
18.6 - 23.5Nm (1.9 - 2.4kgf.m, 13.7 - 17.4lb-ft)


NOTE:
Tighten every bolt diagonally.




22. Install the drive belt idler (A).

Tightening torque :
37.3 - 41.2Nm ( 3.8 - 4.2kgf.m, 27.5 - 30.4lb-ft)





23. Install the air conditioner compressor (A).




24. Install the alternator bracket (A).

Tightening torque :
Bolts (B) 4EA :
29.4 - 41.2N.m (3.0 - 4.2kgf.m, 21.7 - 30.4lb-ft)
Bolt (C) 1EA :
19.6 - 26.5N.m ( 2.0 - 2.7kgf.m, 14.5 - 19.5lb-ft)





25. Install the alternator (A).

Tightening torque :
29.4 - 41.2N.m (3.0 - 4.2kgf.m, 21.7 - 30.4lb-ft)





26. Install the removed parts.