Relay Box (Engine Compartment)
Inspection
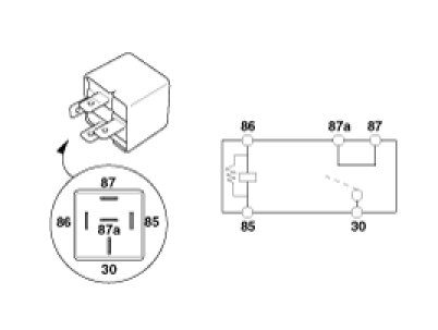
Power Relay (Type A)
Check for continuity between the terminals.
1. There should be continuity between the No.30 and No.87 terminals when power and ground are connected to the No.85 and No.86 terminals.
2. There should be no continuity between the No.30 and No.87 terminals when power is disconnected.
A: Stop lamp relay
B: Trunk lid relay
C: ACC socket relay
D: Washer relay
E: Heated glass relay (front)
F: Horn relay
G: Fuel pump relay
H: Room lamp relay
Power Relay (Type C)
Check for continuity between the terminals.
1. There should be continuity between the No.30 and No.87 terminals when power and ground are connected to the No.85 and No.86 terminals.
2. There should be continuity between the No.30 and No.87 terminals when power is disconnected.
A: ESCL (ACC) relay
B: ESC compressor relay
C: Cooling fan relay
D: ESCL (IG2) relay
E: ESCL (IG1) relay
F: Blower relay
G: Heated glass relay (rear)
H: Start relay
I: Head lamp (low) relay
Power Relay (Type D)
Check for continuity between the terminals.
1. There should be continuity between the No.30 and No.87 terminals when power and ground are connected to the No.85 and No.86 terminals.
2. There should be no continuity between the No.30 and No.87 terminals when power is disconnected.
A: Engine control relay
Fuse Inspection
1. Be sure there is no play in the fuse holders, and that the fuses are held securely.
2. Are the fuse capacities for each circuit correct?
3. Are there any blown fuses?
If a fuse is to be replaced, be sure to use a new fuse of the same capacity. Always determine why the fuse blew first and completely eliminate the problem before installing a new fuse.