Operation CHARM: Car repair manuals for everyone.
Manuals through 2025 now available!

Our trusted friends have launched a new website named LEMON, which has newer manuals. It also contains all the CHARM manuals.

LEMON is the spiritual successor to CHARM, I recommend you try it!

Link: lemon-manuals.la or lemon-manuals.org.ua

(Some people have issue connecting. LEMON is investigating. For now, use Firefox or change your DNS server)

Or, hide this message: temporarily or permanently

Repair Procedures





Inspection

1. Ignition "OFF"
2. Disconnect ambient temperature sensor.
3. Check the resistance of ambient temperature sensor between terminals 1 and 2 whether it is changed by changing of the ambient temperature.
[Specification]









4. If the measured resistance is not specification, substitute with a known-good ambient temperature sensor and check for proper operation.
5. If the problem is corrected, replace the ambient temperature sensor.

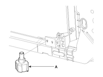
Replacement

1. Disconnect the negative (-) battery terminal.
2. Remove the front bumper.
3. Remove the ambient temperature sensor (A).




4. Installation is the reverse order of removal.