Operation CHARM: Car repair manuals for everyone.
Manuals through 2025 now available!

Our trusted friends have launched a new website named LEMON, which has newer manuals. It also contains all the CHARM manuals.

LEMON is the spiritual successor to CHARM, I recommend you try it!

Link: lemon-manuals.la or lemon-manuals.org.ua

(Some people have issue connecting. LEMON is investigating. For now, use Firefox or change your DNS server)

Or, hide this message: temporarily or permanently

Repair Procedures





Inspection

1. Ignition "ON"
2. Using the scan tool.
3. Check the output voltage of AQS between terminals 2 and 3.
[Specification]









4. AQS diagnosis and fail safe.
Detect the open of signal for 7 seconds without choosing the AQS switch when IG on.
If 2.5V or more is detected for 3.5 seconds or more among 7 seconds, be judged the open of AQS signal.
Operate as below fail safe function, while choosing AQS.
Fail safe: Release the AQS (AQS cannot be selected), Fresh/recirculation maintains previous situation of AQS selection.

NOTE:
When IG is turned ON, AQS heats for 34±5 seconds, it will output below 1.0 voltage during this time.

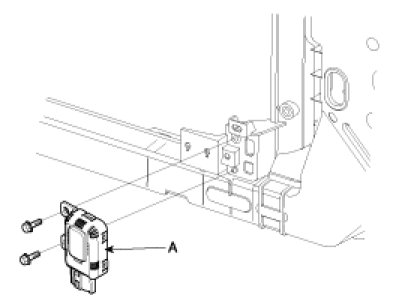
Replacement

1. Disconnect the negative (-) battery terminal.
2. Remove the front bumper .
3. Remove the AQS (B) after loosening the mounting bolts (A).




4. Installation is the reverse order of removal.