Operation CHARM: Car repair manuals for everyone.
Manuals through 2025 now available!

Our trusted friends have launched a new website named LEMON, which has newer manuals. It also contains all the CHARM manuals.

LEMON is the spiritual successor to CHARM, I recommend you try it!

Link: lemon-manuals.la or lemon-manuals.org.ua

(Some people have issue connecting. LEMON is investigating. For now, use Firefox or change your DNS server)

Or, hide this message: temporarily or permanently

Repair Procedures





Removal

1. Disconnect the negative(-) battery terminal.
2. Remove the crash pad lower panel(A).




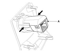
3. Disconnect the start/stop button connector (A).




4. Remove the start/stop button (A) after pushing clips.






Installation

1. Install the start/stop button.
2. Install the crash pad lower panel.