Operation CHARM: Car repair manuals for everyone.
Manuals through 2025 now available!

Our trusted friends have launched a new website named LEMON, which has newer manuals. It also contains all the CHARM manuals.

LEMON is the spiritual successor to CHARM, I recommend you try it!

Link: lemon-manuals.la or lemon-manuals.org.ua

(Some people have issue connecting. LEMON is investigating. For now, use Firefox or change your DNS server)

Or, hide this message: temporarily or permanently

Repair Procedures





Removal

Bladder & Massage ECU(Rear Seat)

NOTE:
This removal and installation procedure of bladder & massage ECU assembly is only for rear seat.
Because removal of front seat bladder & massage ECU assembly is impossible, please inspect with a seat frame assembly unit.

1. Disconnect the negative (-) battery terminal.
2. Remove the rear seat back.

3. Disconnect the massage ECU connector (A).




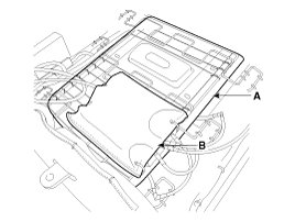
4. Remove the bladder (A) and massage ECU assembly (B) after removing the hog rings from the massage bladder.






Inspection

Massage Switch
1. Disconnect the negative(-) battery terminal.
2. Remove the seat recliner cover (A).





3. Disconnect the massage seat switch connector (A).




4. With the massage seat switch in each position, make sure that continuity exists between the terminal below.
If continuity is not as specified, replace the switch.






Installation

CAUTION:
- When installing the massage bladder with hog rings, confirm the numbers and positions of hog rings to fix exactly. (Install 4 hog rings to each 6 areas)




- Take care not to damage the air hose when installing the hog rings.
- Confirm that the pump and massage air hose assembly are installed in properly.
- Set the back pad and massage bladder cap in centerline.

1. Install the bladder and massage ECU assembly.
2. Install the rear seat back.
3. Check the rear massage seat system.