Operation CHARM: Car repair manuals for everyone.
Manuals through 2025 now available!

Our trusted friends have launched a new website named LEMON, which has newer manuals. It also contains all the CHARM manuals.

LEMON is the spiritual successor to CHARM, I recommend you try it!

Link: lemon-manuals.la or lemon-manuals.org.ua

(Some people have issue connecting. LEMON is investigating. For now, use Firefox or change your DNS server)

Or, hide this message: temporarily or permanently

Window Shade Switch: Service and Repair





Removal

Floor Console Side
1. Disconnect the negative (-) battery terminal.
2. Remove the floor console upper cover (A).




3. Disconnect the connector from the console upper cover.




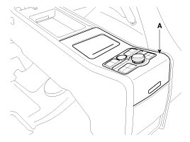
4. Remove the rear curtain switch (A).





Rear Console Side
1. Disconnect the negative (-) battery terminal.
2. Remove the rear console upper cover (A).




3. Remove the rear console switch assembly (A) after removing screws and connectors.






Installation

Floor Console Side
1. Install the rear curtain switch and connector to the console upper cover.
2. Install the console upper cover to the floor console.

Rear Console Side
1. Install the rear console switch to the rear console upper cover.
2. Install the rear console upper cover.