Operation CHARM: Car repair manuals for everyone.
Manuals through 2025 now available!

Our trusted friends have launched a new website named LEMON, which has newer manuals. It also contains all the CHARM manuals.

LEMON is the spiritual successor to CHARM, I recommend you try it!

Link: lemon-manuals.la or lemon-manuals.org.ua

(Some people have issue connecting. LEMON is investigating. For now, use Firefox or change your DNS server)

Or, hide this message: temporarily or permanently

Repair Procedures





Removal

1. Loosen the wheel nuts slightly.
Raise the vehicle, and make sure it is securely supported.
2. Remove the front wheel and tire (A) from the front hub (B).





CAUTION:
Be careful not to damage to the hub bolts (C) when removing the front wheel and tire (A).

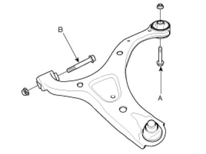
3. Remove the split pin and front lower arm mounting bolt (B) from the knuckle (A).




4. Remove the lower arm mounting bolts (A,B) and then remove the lower arm.





CAUTION:
If the bush is excessive worn and damaged, replace the lower arm assembly.

Inspection

1. Check the bushing for wear and deterioration.
2. Check the lower arm for bending or breakage.
3. Check the ball joint dust cover for cracks.
4. Check all bolts.

Installation

1. Install the lower arm and then tighten the lower arm mounting bolts (A, B).

Tightening torque :
Bolt(A) : 137.3 - 156.9N.m (14 - 16kgf.m, 101.3 - 115.7lb-ft)
Bolt(B) : 137.3 - 156.9N.m (14 - 16kgf.m, 101.3 - 115.7lb-ft)




2. Install the split pin and front lower arm mounting bolt (B) to the knuckle (A).

Tightening torque :
98.1 - 117.7N.m (10.0 - 12.0kgf.m, 72.3 - 86.8lb-ft)




3. Install the wheel and tire (A) to the front hub (B).

Tightening torque :
88.3 - 107.9N.m (9 - 11kgf.m, 65.1 - 79.6lb-ft)





CAUTION:
Be careful not to damage the hub bolts(C) when installing the front wheel and tire (A).