Operation CHARM: Car repair manuals for everyone.
Manuals through 2025 now available!

Our trusted friends have launched a new website named LEMON, which has newer manuals. It also contains all the CHARM manuals.

LEMON is the spiritual successor to CHARM, I recommend you try it!

Link: lemon-manuals.la or lemon-manuals.org.ua

(Some people have issue connecting. LEMON is investigating. For now, use Firefox or change your DNS server)

Or, hide this message: temporarily or permanently

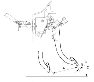
Clutch: Testing and Inspection





Service Adjustment Procedure

Clutch Pedal Inspection And Adjustment
1. Measure the clutch pedal height (from the face of the pedal pad to the floorboard) and the clutch pedal clevis pin play (measured at the face of the pedal pad.)

Standard value
Stroke (A) : 150 - 155mm (5.98 - 5.99in.)
Free play (B) : 6 - 13 mm (0.24 - 0.51in.)
Height (C) : 216mm (8.5in.)




2. If the clutch pedal freeplay and height is not within the standard value range, adjust as follows:
(1) Turn and adjust the bolt within the standard value, then secure by tightening the lock nut.

NOTE:
If the clutch pedal height is lower than the standard value, loosen the bolt and adjust the push rod.
After adjustment, tighten the bolt so that the clearance with pedal stopper becomes 0.5mm (0.02 in.) to 1.0mm (0.04 in.) and secure with lock nut.




(2) Turn the push rod to agree with the standard value and then secure the push rod with the lock nut.

CAUTION:
When adjusting the clutch pedal height or the clutch pedal play, be careful not to push the push rod toward the master cylinder.

3. If the clutch pedal free play and the distance between the clutch pedal and the floor board when the clutch is disengaged, do not meet with the standard values, it may be the result of either air in the hydraulic system or a faulty clutch master cylinder. Bleed the air or disassemble and inspect the master cylinder or clutch.