Operation CHARM: Car repair manuals for everyone.
Manuals through 2025 now available!

Our trusted friends have launched a new website named LEMON, which has newer manuals. It also contains all the CHARM manuals.

LEMON is the spiritual successor to CHARM, I recommend you try it!

Link: lemon-manuals.la or lemon-manuals.org.ua

(Some people have issue connecting. LEMON is investigating. For now, use Firefox or change your DNS server)

Or, hide this message: temporarily or permanently

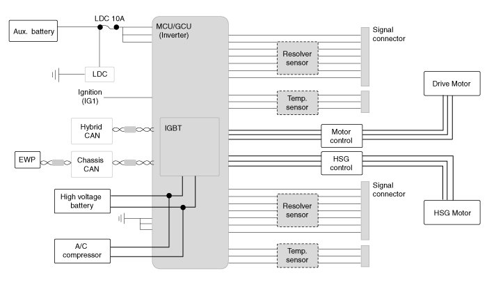
Drive Motor Control Module





System Circuit Diagram

A high-capacity power module is applied to control 2 primary motors using high voltage. The power module is composed of a high-speed switching insulated gate bipolar transistor (IGBT) and a diode circuit. The high voltage battery capacity is about 270V, but to ensure stability and reliability the power module uses high capacity power with a maximum voltage of 650V.






MCU Terminal and Input/ Output signal





MCU Terminal Function

Connector (CHG34-S)






MCU terminal Input/Output signal