Operation CHARM: Car repair manuals for everyone.
Manuals through 2025 now available!

Our trusted friends have launched a new website named LEMON, which has newer manuals. It also contains all the CHARM manuals.

LEMON is the spiritual successor to CHARM, I recommend you try it!

Link: lemon-manuals.la or lemon-manuals.org.ua

(Some people have issue connecting. LEMON is investigating. For now, use Firefox or change your DNS server)

Or, hide this message: temporarily or permanently

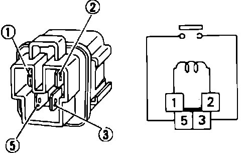
Main Relay (Computer/Fuel System): Testing and Inspection

Fig. 206 ECCS Relay & Fuel Pump Relay Continuity Test:






1. With a 12 volt direct current supplied between terminals 1 and 2, continuity should exist between terminals 3 and 5, Fig. 206.
2. No continuity should exist between terminals 3 and 5 when no current is supplied.