Operation CHARM: Car repair manuals for everyone.
Manuals through 2025 now available!

Our trusted friends have launched a new website named LEMON, which has newer manuals. It also contains all the CHARM manuals.

LEMON is the spiritual successor to CHARM, I recommend you try it!

Link: lemon-manuals.la or lemon-manuals.org.ua

(Some people have issue connecting. LEMON is investigating. For now, use Firefox or change your DNS server)

Or, hide this message: temporarily or permanently

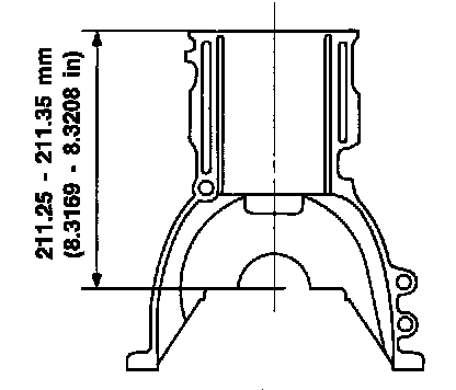
Cylinder Block






CYLINDER BLOCK DISTORTION AND WEAR

Block surface flatness:
Standard ..............Less than 0.03 mm (0.0012 inch)
Limit .................0.10 mm (0.0039 inch)






Amount of cylinder head resurfacing is "A".
Amount of cylinder block resurfacing is "B".

The maximum limit is as follows:
A + B = 0.2 mm (0.008 inch)

Nominal cylinder block height from crankshaft center:
211.25 - 211.35 mm (8.3169 - 8.3208 inch)