Operation CHARM: Car repair manuals for everyone.
Manuals through 2025 now available!

Our trusted friends have launched a new website named LEMON, which has newer manuals. It also contains all the CHARM manuals.

LEMON is the spiritual successor to CHARM, I recommend you try it!

Link: lemon-manuals.la or lemon-manuals.org.ua

(Some people have issue connecting. LEMON is investigating. For now, use Firefox or change your DNS server)

Or, hide this message: temporarily or permanently

Piston, Engine

PISTON AND PISTON PIN CLEARANCE
Piston Pin Bore Diameter





Measure the inner diameter of piston pin bore with an inside micrometer.
Standard: 21.993 - 22.005 mm (0.8659 - 0.8663 inch)

Piston Pin Outer Diameter





Measure the outer diameter of piston pin with a micrometer.
Standard: 21.989 - 22.001 mm (0.8657 - 0.8662 inch)

Piston and Piston Pin Clearance





(Piston pin clearance) = (Piston pin bore diameter) - (Outer diameter of piston pin)
Standard: 0.002 - 0.006 mm (0.0001 - 0.0002 inch)
^ If the clearance exceeds the standard, replace piston/piston pin assembly
^ Refer to piston selection table to replace piston/piston pin assembly. Refer to "HOW TO SELECT PISTON".

NOTE:
^ Piston is available together with piston pin as assembly





^ Piston pin hole (piston pin) grade is provided only for the parts installed at the plant. For service parts, no grades can be selected. (Only 0 grade is available.)

PISTON TO CYLINDER BORE CLEARANCE
Inner Diameter of Cylinder Bore





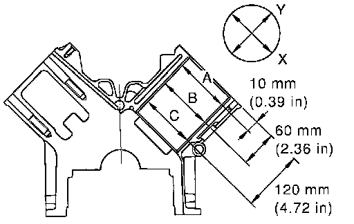
^ Using a bore gauge, measure the cylinder bore diameter for wear, out-of-round and taper at 6 different points on each cylinder. (X and Y directions at A, B and C)

NOTE: When determining cylinder bore grade, measure the cylinder bore at B position.





Standard inner diameter: 93.000 - 93.030 mm (3.6614 - 3.6626 inch)
Wear limit: 0.20 mm (0.0079 inch)
Out-of-round (Difference between X and Y): 0.015 mm (0.0006 inch)
Taper limit (Difference between A and C): 0.010 mm (0.0004 inch)
^ If the measured value exceeds the limit, or if there are scratches or seizure and/or the cylinder inner wall, hone or bore the inner wall.
^ Oversize piston is provided. When using oversize piston, hone cylinder so that the clearance between piston and cylinder satisfies the standard.
Oversize (OS): 0.2 mm (0.008 inch)

CAUTION: If oversize piston is used, use it for all cylinders with oversize piston rings.

Outer Diameter of Piston





^ Measure the piston outer diameter.
Standard: 92.980 - 93.010 mm (3.6606 - 3.6618 inch)





^ Measure point "H" (Distance from the top): 42 mm (1.65 inch)

Piston to Cylinder Bore Clearance
^ Calculate by outer diameter of piston and inner diameter of cylinder (direction X, position B) (Clearance) = (Inner diameter of cylinder) - (Outer diameter of piston)
Standard: 0.010 - 0.030 mm (0.0004 - 0.0012 inch)
Limit: 0.08 mm (0.0031 inch)
^ If it exceeds the limit, replace piston/piston pin assembly.

Reboring Cylinder Bore
1. Cylinder bore size is determined by adding piston-to-bore clearance to piston diameter "A".
Rebored size calculation: D = A + B - C
where,
D: Bored diameter
A: Piston diameter as measured
B: Piston - to - bore clearance (standard value)
C: Honing allowance 0.02 mm (0.0008 inch)
2. Install main bearing caps, and tighten to the specified torque. Otherwise, cylinder bores may be distorted in final assembly. Refer to "ASSEMBLY".
3. Cut the cylinder bores.

NOTE:
^ When any cylinder needs boring, all other cylinders must also be bored.
^ Do not cut too much out of the cylinder bore at a time. Cut only 0.05 mm (0.0020 inch) or so in diameter at a time.

4. Hone cylinders to obtain the specified piston-to-bore clearance.
5. Measure finished the cylinder bore for out-of-round and taper.

NOTE: Measurement should be done after the cylinder bore cools down.

PISTON, PISTON RING AND PISTON PIN





Available Piston





Piston Ring





Piston Pin