Operation CHARM: Car repair manuals for everyone.
Manuals through 2025 now available!

Our trusted friends have launched a new website named LEMON, which has newer manuals. It also contains all the CHARM manuals.

LEMON is the spiritual successor to CHARM, I recommend you try it!

Link: lemon-manuals.la or lemon-manuals.org.ua

(Some people have issue connecting. LEMON is investigating. For now, use Firefox or change your DNS server)

Or, hide this message: temporarily or permanently

System Specifications

Part 1:




Part 2:






Crankshaft Pulley
Tighten fixing bolts of crankshaft pulley.
Lock crankshaft with a hammer handle or similar tool to tighten fixing bolts.
Perform the following steps for angular tightening:

Tighten bolt 93.1 Nm (9.5 kg-m, 69 ft. lbs.).





Select one most visible notch of the four on bolt flange. Corresponding to the selected notch, put a mating mark (such as paint) on crankshaft pulley.
Tighten further by 90 degrees. (Angle tightening) Check the tightening angle by referencing to the notches. The angle between two notches is 90 degrees.

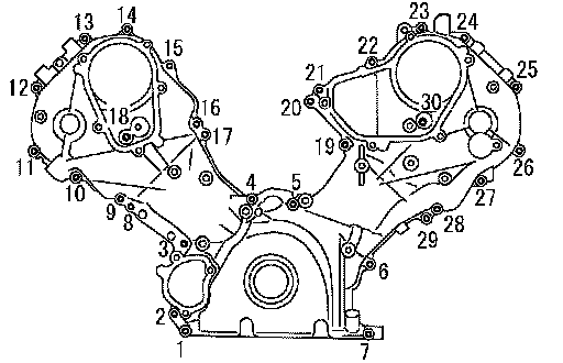
Timing Cover





Tighten fixing bolts in the numerical order shown in the figure.