Operation CHARM: Car repair manuals for everyone.
Manuals through 2025 now available!

Our trusted friends have launched a new website named LEMON, which has newer manuals. It also contains all the CHARM manuals.

LEMON is the spiritual successor to CHARM, I recommend you try it!

Link: lemon-manuals.la or lemon-manuals.org.ua

(Some people have issue connecting. LEMON is investigating. For now, use Firefox or change your DNS server)

Or, hide this message: temporarily or permanently

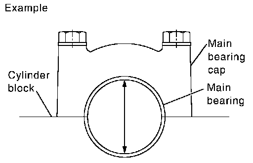
Main Bearing Oil Clearance

MAIN BEARING OIL CLEARANCE
Method by Calculation





Install main bearings to cylinder block and main bearing caps, and tighten main bearing cap bolts with main bearing beam to the specified torque.
^ Measure the inner diameter of main bearing with a bore gauge.
(Oil clearance) = (Main bearing inner diameter) - (Crankshaft main journal diameter)
Standard : 0.035 - 0.045 mm (0.0014 - 0.0018 inch) (actual clearance)
Limit : 0.065 mm (0.0026 inch)
^ If the calculated value exceeds the limit, select proper main bearing according to main bearing inner diameter and crankshaft main journal diameter to obtain the specified bearing oil clearance.
Method of Using Plastigage
^ Remove engine oil and dust on crankshaft journal and the surfaces of each bearing completely.
^ Cut a plastigage slightly shorter than the bearing width, and place it in crankshaft axial direction, avoiding oil holes.
^ Install main bearing to cylinder block and main bearing cap, and tighten main bearing bolts with main bearing beam to the specified torque.

CAUTION: Never rotate crankshaft.





^ Remove main bearing caps and bearings, and using the scale on the plastigage bag, measure the plastigage width.

NOTE: The procedure when the measured value exceeds the limit is same as that described in the "Method by Calculation".