Operation CHARM: Car repair manuals for everyone.
Manuals through 2025 now available!

Our trusted friends have launched a new website named LEMON, which has newer manuals. It also contains all the CHARM manuals.

LEMON is the spiritual successor to CHARM, I recommend you try it!

Link: lemon-manuals.la or lemon-manuals.org.ua

(Some people have issue connecting. LEMON is investigating. For now, use Firefox or change your DNS server)

Or, hide this message: temporarily or permanently

Piston, Engine

PISTON TO PISTON PIN CLEARANCE
Piston Pin Hole Diameter





Measure the inner diameter of piston pin hole with an inside micrometer.
Standard 21.993 - 22.005 mm (0.8659 - 0.8663 inch)

Piston Pin Outer Diameter





Measure the outer diameter of piston pin with a micrometer.
Standard 21.989 - 22.001 mm (0.8657 - 0.8662 inch)

Piston To Piston Pin Clearance





(Piston to piston pin clearance) = (Piston pin hole diameter) - (Piston pin outer diameter)
Standard 0.002 - 0.006 mm (0.0001 - 0.0002 inch)
^ If out of the standard, replace piston/piston pin assembly.
^ Refer to piston selection table to replace piston/piston pin assembly. Refer to "HOW TO SELECT PISTON".

NOTE:
^ Piston is available together with piston pin as assembly.
^ Piston pin (piston pin hole) grade is provided only for the parts installed at the plant. For service parts, no grades can be selected. (Only "0" grade is available.)

PISTON TO CYLINDER BORE CLEARANCE
Cylinder Bore Inner Diameter





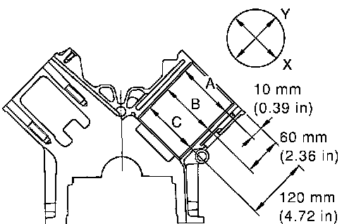
^ Using a bore gauge, measure the cylinder bore diameter for wear, out-of-round and taper at six different points on each cylinder. ("X" and "Y" directions at "A", "B" and "C")

NOTE: When determining cylinder bore grade, measure the cylinder bore at B position.





Standard inner diameter 93.000 - 93.030 mm (3.6614 - 3.6626 inch)
Wear limit 0.20 mm (0.0079 inch)
Out-of-round limit (Difference between "X" and "Y") 0.015 mm (0.0006 inch)
Taper limit (Difference between "A" and "C") 0.010 mm (0.0004 inch)
^ If the measured value exceeds the limit, or if there are scratches and/or seizure on the cylinder inner wall, hone or bore the inner wall.
^ Oversize piston is provided. When using oversize piston, hone cylinder so that the clearance between piston and cylinder satisfies the standard.
Oversize (OS) 0.2 mm (0.008 inch)

CAUTION: If oversize piston is used, use it for all cylinders with oversize piston rings.

Piston Skirt Diameter





^ Measure outer diameter of piston skirt with a micrometer.
Standard 92.980 - 93.010 mm (3.6606 - 3.6618 inch)





^ Measure point "H" (Distance from the top) 42 mm (1.65 inch)

Piston to Cylinder Bore Clearance
^ Calculate by piston skirt diameter and cylinder bore inner diameter (direction "X", position "B").
(Clearance) = (Cylinder bore inner diameter) - (Piston skirt diameter)
Standard 0.010 - 0.030 mm (0.0004 - 0.0012 inch)
Limit 0.08 mm (0.0031 inch)
^ If it exceeds the limit, replace piston/piston pin assembly. Refer to "HOW TO SELECT PISTON".

Re-boring Cylinder Bore
1. Cylinder bore size is determined by adding piston to cylinder bore clearance to piston skirt diameter.
Rebored size calculation: D = A + B - C where,
D: Bored diameter
A: Piston skirt diameter as measured
B: Piston to bore clearance (standard value)
C: Honing allowance 0.02 mm (0.0008 inch)
2. Install main bearing caps, and tighten to the specified torque. Otherwise, cylinder bores may be distorted in final assembly. Refer to "ASSEMBLY".
3. Cut the cylinder bores.

NOTE:
^ When any cylinder needs boring, all other cylinders must also be bored.
^ Do not cut too much out of the cylinder bore at a time. Cut only 0.05 mm (0.0020 inch) or so in diameter at a time.

4. Hone cylinders to obtain the specified piston to cylinder bore clearance.
5. Measure finished the cylinder bore for out-of-round and taper.

NOTE: Measurement should be done after the cylinder bore cools down.

PISTON, PISTON RING AND PISTON PIN





Available Piston





Piston Ring





Piston Pin