Operation CHARM: Car repair manuals for everyone.
Manuals through 2025 now available!

Our trusted friends have launched a new website named LEMON, which has newer manuals. It also contains all the CHARM manuals.

LEMON is the spiritual successor to CHARM, I recommend you try it!

Link: lemon-manuals.la or lemon-manuals.org.ua

(Some people have issue connecting. LEMON is investigating. For now, use Firefox or change your DNS server)

Or, hide this message: temporarily or permanently

Control System

CONTROL SYSTEM OUTLINE





The automatic transmission senses vehicle operating conditions through various sensors or signals. It always controls the optimum shift position and reduces shifting and lock-us shocks.





CONTROL SYSTEM DIAGRAM

CAN Communication

SYSTEM DESCRIPTION
Controller Area Network (CAN) is a serial communication line for real time application. It is an on-vehicle multiplex communication line with high data communication speed and excellent error detection ability. Many electronic control units are equipped onto a vehicle, and each control unit shares information and links with other control units during operation (not independent). In CAN communication, control units are connected with 2 communication lines (CAN H line, CAN L line) allowing a high rate of information transmission with less wiring. Each control unit transmits/receives data but selectively reads required data only.





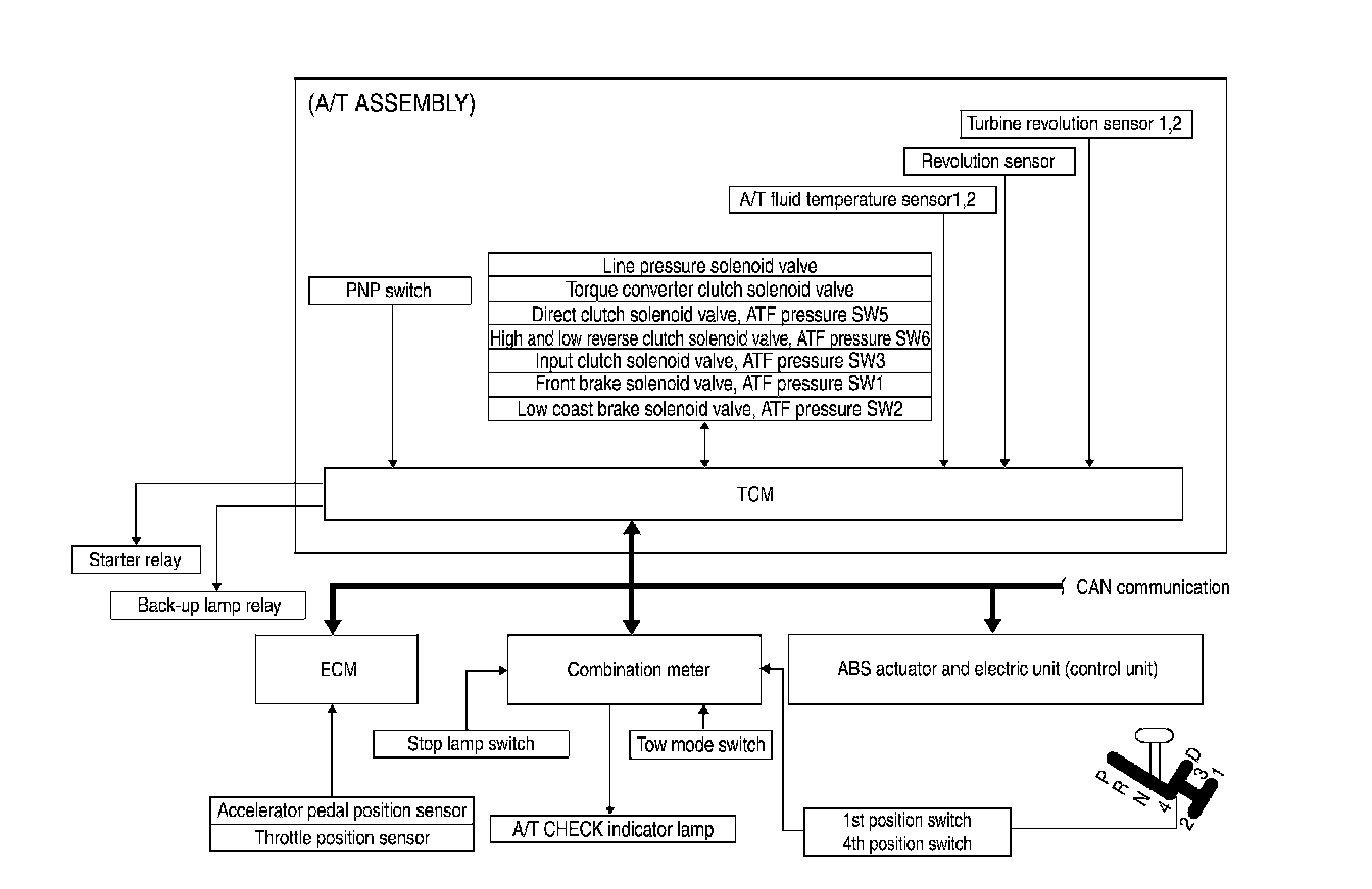
Input/Output Signal of TCM

Line Pressure Control





^ When an input torque signal equivalent to the engine drive force is sent from the ECM to the TCM, the TCM controls the line pressure solenoid.
^ This line pressure solenoid controls the pressure regulator valve as the signal pressure and adjusts the pressure of the operating oil discharged from the oil pump to the line pressure most appropriate to the driving state.

LINE PRESSURE CONTROL IS BASED ON THE TCM LINE PRESSURE CHARACTERISTIC PATTERN
^ The TCM has stored in memory a number of patterns for the optimum line pressure characteristic for the driving state.
^ In order to obtain the most appropriate line pressure characteristic to meet the current driving state, the TCM controls the line pressure solenoid current value and thus controls the line pressure.

Normal Control





Each clutch is adjusted to the necessary pressure to match the engine drive force.

Back-up Control (Engine Brake)





When the select operation is performed during driving and the transmission is shifted down, the line pressure is set according to the vehicle speed.

During Shift Change





The necessary and adequate line pressure for shift change is set. For this reason, line pressure pattern setting corresponds to input torque and gearshift selection. Also, line pressure characteristic is set according to engine speed, during engine brake operation.

At Low Fluid Temperature





When the A/T fluid temperature drops below the prescribed temperature, in order to speed up the action of each friction element, the line pressure is set higher than the normal line pressure characteristic.

Shift Control





The clutch pressure control solenoid is controlled by the signals from the switches and sensors. Thus, the clutch pressure is adjusted to be appropriate to the engine load state and vehicle driving state. It becomes possible to finely control the clutch hydraulic pressure with high precision and a smoother shift change characteristic is attained.

SHIFT CHANGE
The clutch is controlled with the optimum timing and oil pressure by the engine speed, engine torque information, etc.





Shift Change System Diagram

Lock up Control
The torque converter clutch piston in the torque converter is engaged to eliminate torque converter slip to increase power transmission efficiency.

The torque converter clutch control valve operation is controlled by the torque converter clutch solenoid valve, which is controlled by a signal from TCM, and the torque converter clutch control valve engages or releases the torque converter clutch piston.





Lock-up Operation Condition Table

TORQUE CONVERTER CLUTCH CONTROL VALVE CONTROL





Lock-up Control System Diagram

Lock-up Released
^ In the lock-up released state, the torque converter clutch control valve is set into the unlocked state by the torque converter clutch solenoid and the lock-up apply pressure is drained. In this way, the torque converter clutch piston is not coupled.

Lock-up Applied
^ In the lock-up applied state, the torque converter clutch control valve is set into the locked state by the torque converter clutch solenoid and lock-up apply pressure is generated. In this way, the torque converter clutch piston is pressed and coupled.

SMOOTH LOCK-UP CONTROL
When shifting from the lock-up released state to the lock-up applied state, the current output to the torque converter clutch solenoid is controlled with the TCM. In this way, when shifting to the lock-up applied state, the torque converter clutch is temporarily set to the half-clutched state to reduce the shock.

Half-clutched State
^ The current output from the TCM to the torque converter clutch solenoid is varied to gradually increase the torque converter clutch solenoid pressure.

In this way, the lock-up apply pressure gradually rises and while the torque converter clutch piston is put into half-clutched status, the torque converter clutch piston operating pressure is increased and the coupling is completed smoothly.

Slip Lock-up Control
^ In the slip region, the torque converter clutch solenoid current is controlled with the TCM to put it into the half-clutched state. This absorbs the engine torque fluctuation and lock-up operates from low speed. This raises the fuel efficiency for 4th and 5th gears at both low speed and when the accelerator has a low degree of opening.

Engine Brake Control





^ The forward one-way clutch transmits the drive force from the engine to the rear wheels. But the reverse drive from the rear wheels is not transmitted to the engine because the one-way clutch is idling. Therefore, the low coast brake solenoid is operated to prevent the forward one-way clutch from idling and the engine brake is operated in the same manner as conventionally.
^ The operation of the low coast brake solenoid switches the low coast brake switching valve and controls the coupling and releasing of the low coast brake. The low coast brake reducing valve controls the low coast brake coupling force.