Operation CHARM: Car repair manuals for everyone.
Manuals through 2025 now available!

Our trusted friends have launched a new website named LEMON, which has newer manuals. It also contains all the CHARM manuals.

LEMON is the spiritual successor to CHARM, I recommend you try it!

Link: lemon-manuals.la or lemon-manuals.org.ua

(Some people have issue connecting. LEMON is investigating. For now, use Firefox or change your DNS server)

Or, hide this message: temporarily or permanently

Service Limits & General Specifications

CRANKSHAFT END PLAY





^ Move the crankshaft fully forward and backward and measure the clearance between the thrust bearings and crankshaft arm using suitable tool.
Standard: 0.10 - 0.26 mm (0.0039 - 0.0102 inches)
Limit: 0.30 mm (0.0118 inches)
^ If measured value exceeds the repair limit, replace the thrust bearings, and measure again. If it still exceeds the repair limit, replace crankshaft also.

CONNECTING ROD SIDE CLEARANCE





^ Measure side clearance between the connecting rod and crank shaft arm using suitable tool.
Standard: 0.20 - 0.40 mm (0.0079 - 0.0157 inches)
Limit: 0.40 mm (0.0157 inches)
^ If measured value exceeds the repair limit, replace the connecting rod bearings, and measure again. If it still exceeds the repair limit, replace the crankshaft also.

PISTON AND PISTON PIN CLEARANCE
Piston Pin Hole Diameter





^ Measure diameter of piston pin hole using suitable tool.
Standard: 21.993 - 21.999 mm (0.8659 - 0.8661 inches)

Piston Pin Diameter





^ Measure diameter of piston pin using suitable tool.
Standard: 21.989 - 21.995 mm (0.8657 - 0.8659 inches)

Piston and Piston Pin Clearance
(Piston pin clearance) = (Piston pin hole diameter) - (Piston pin diameter)
Standard: 0.002 - 0.006 mm (0.0001 - 0.0002 inches)





^ If clearance exceeds specification, replace either or both the piston/piston pin assembly and the connecting rod assembly with reference to the specification of each part.
^ Refer to the piston selection table to replace piston/piston pin assembly Refer to "HOW TO SELECT PISTON".
^ Refer to the connecting rod bearing selection table to replace connecting rod. Refer to "HOW TO SELECT CONNECTING ROD BEARING".

NOTE: The connecting rod small end grade and piston pin hole (piston pinches) grade are provided only for the parts installed at the plant. For service parts, no grades can be selected (only 0 grade is available).





^ Refer to "Connecting Rod Bushing Oil Clearance (Small End) for the values for each grade at the plant.

PISTON RING SIDE CLEARANCE





^ Measure side clearance of the piston ring and piston ring groove using suitable tool.
Standard:
Top ring: 0.035 - 0.085 mm (0.0014 - 0.0033 inches)
2nd ring: 0.030 - 0.070 mm (0.0012 - 0.0028 inches)
Oil ring: 0.015 - 0.050 mm (0.0006 - 0.0020 inches)
Limit:
Top ring: 0.11 mm (0.0043 inches)
2nd ring: 0.10 mm (0.0039 inches)
^ If out of specification, replace piston and/or piston ring assembly.

PISTON RING END GAP





^ Check if the diameter of the cylinder bore is within specification. Refer to "Piston to Cylinder Bore Clearance".
^ Insert the piston ring into the middle of the cylinder using the piston, and measure gap.
Standard
Top ring: 0.23 - 0.33 mm (0.0091 - 0.0130 inches)
2nd ring: 0.25 - 0.40 mm (0.0098 - 0.0157 inches)
Oil ring: 0.20 - 0.60 mm (0.0079 - 0.0236 inches)
Limit:
Top ring: 0.56 mm (0.0220 inches)
2nd ring: 0.52 mm (0.0205 inches)
Oil ring: 0.96 mm (0.0378 inches)
^ If out of specification, replace piston ring. If the gap still exceeds the limit even with a new ring, re-bore the cylinder and use oversized piston and piston ring.

CONNECTING ROD BEND AND TORSION





^ Check connecting rod alignment using suitable tool.
Limit:
Bend: 0.15 mm (0.0059 inches) per 100 mm (3.94 inches) length
Torsion: 0.30 mm (0.0118 inches) per 100 mm (3.94 inches) length





^ If measurement exceeds the limit, replace connecting rod assembly.

CONNECTING ROD BEARING (BIG END)





^ Install the connecting rod cap without the connecting rod bearing installed. After tightening the connecting rod bolt to the specified torque, measure the connecting rod large end inside diameter. Refer to "ASSEMBLY".
Standard: 57.000 - 57.013 mm (2.2441 - 2.2446 inches)
^ If measurement exceeds the standard, replace connecting rod.

CONNECTING ROD BUSHING OIL CLEARANCE (SMALL END)
Connecting Rod Inside Diameter (Small End)





^ Measure inside diameter of bushing using suitable tool.
Standard: 22.000 - 22.006 mm (0.8661 - 0.8664 inches)

Piston Pin Diameter





^ Measure diameter of piston pin using suitable tool.
Standard: 21.989 - 21.995 mm (0.8657 - 0.8659 inches)

Connecting Rod Bushing Oil Clearance (Small End)





(Connecting rod small end oil clearance) = (Inside diameter of confecting rod small end) - (Piston pin diameter)
Standard: 0.005 - 0.017 mm (0.0002 - 0.0007 inches)
^ If measured value exceeds the standard, replace the connecting rod assembly and/or piston and piston pin assembly.
^ If replacing the piston and piston pin assembly, refer to the Table for Selective Fitting for Piston to select the piston corresponding to the applicable bore grade of the cylinder block to be used. Refer to "HOW TO SELECT PISTON".

Factory installed parts grading:








^ Only grade 0 is available.

CYLINDER BLOCK DISTORTION
^ Remove any oil, scale, gasket, sealant and carbon deposits from the cylinder block surface.

CAUTION: Do not allow any debris to enter the oil or coolant passages.





^ Measure block upper face for distortion in six directions as shown.
Standard: 0.03 mm (0.0012 inches)
Limit: 0.1 mm (0.004 inches)
^ If measurement exceeds the limit, replace cylinder block.

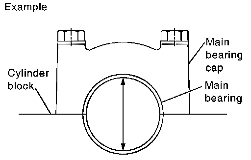
MAIN BEARING HOUSING INSIDE DIAMETER





^ Install the main bearing caps with the main bearings removed, and tighten the bolts to the specified torque. Refer to "ASSEMBLY".
^ Measure inside diameter of main bearing housing.
Standard: 68.944 - 68.968 mm (2.7143 - 2.7153 inches)
^ If out of the standard, replace cylinder block and main bearing caps as an assembly.

NOTE: These components must be replaced as a single unit, because hey were processed together.

PISTON TO CYLINDER BORE CLEARANCE
Cylinder Bore Diameter





^ Measure the cylinder bore for wear, out-of-round and taper at six different points on each cylinder. ("X" and "Y" directions at "A","B" and "C")

NOTE: When determining cylinder bore grade, measure cylinder bore at "B" position.





Standard diameter: 98.000 - 98.030 mm (3.8583 - 3.8594 inches)
Wear limit: 0.20 mm (0.0079 inches)
Out-of-round (Difference between X and Y):
Limit: 0.015 mm (0.0006 inches)
Taper limit (Difference between A and C):
Limit: 0.010 mm (0.0004 inches)
^ If measured value exceeds the repair limit, or if there are scratches and/or seizure on the cylinder inner wall, hone or bore the inner wall.
^ An oversize piston is provided. When using an oversize piston, hone the cylinder so that the clearance between the piston and cylinder satisfies the standard.
Piston oversize Grade No. 0 (Service): 0.20 mm (0.0079 inches)
^ If oversize piston is used, use it for all cylinders with oversize piston rings.

Piston Skirt Diameter





^ Measure piston skirt diameter using suitable tool.
Standard: 97.980 - 98.010 mm (3.8575 - 3.8587 inches)





^ Measure point "H".
Distance from the top: 39 mm (1.54 inches)

Piston to Cylinder Bore Clearance
^ Calculate by using diameter of the piston skirt and the cylinder bore diameter (direction X, position B). (Clearance) = (Cylinder bore diameter) - (piston skirt diameter)
Standard: 0.010 - 0.030 mm (0.0004 - 0.0012 inches)
Limit: 0.08 mm (0.0031 inches)
^ If calculation exceeds the limit, replace piston/piston pin assembly.

Reboring Cylinder Bore
1. Cylinder bore size is determined by adding piston-to-bore clearance to piston diameter "A".
Rebored size calculation: D = A + B - C where,
D: Bored diameter
A: Piston diameter as measured
B: Piston - to - bore clearance (standard value)
C: Honing allowance 0.02 mm (0.0008 inches)
2. Install main bearing caps, and tighten them to the specified torque. Otherwise, cylinder bores may be distorted in final assembly.
3. Cut the cylinder bores.

NOTE:
^ When any cylinder needs boring, all other cylinders must also be bored.
^ Do not cut too much out of cylinder bore at one time. Cut only 0.05 mm (0.0020 inches) or so in diameter at a time.

4. Hone cylinders to obtain the specified piston-to-bore clearance.
5. Measure the finished cylinder bore for out-of-round and taper.

NOTE: Measurement should be done after cylinder bore cools down.

CRANKSHAFT JOURNAL DIAMETER
^ Measure diameter of crankshaft journals.
Standard: 63.940 - 63.964 mm (2.5173 - 2.5183 inches)
^ If measurement is out of standard, measure the main bearing oil clearance. Then use the undersize bearing. Refer to "MAIN BEARING OIL CLEARANCE".

CRANKSHAFT PIN DIAMETER
^ Measure diameter of crankshaft pin using suitable tool.
Standard: 53.956 - 53.974 mm (2.1243 - 2.1250 inches)
^ If measurement is out of standard, measure the connecting rod bearing oil clearance. Then use the undersize bearing. Refer to "CONNECTING ROD BEARING OIL CLEARANCE".

CONNECTING ROD BEARING OIL CLEARANCE
Method of Measurement
^ Install connecting rod bearings to the connecting rod and cap. Tighten connecting rod bolts to the specified torque. Refer to "ASSEMBLY".





Measure inside diameter of connecting rod bearing. (Oil clearance) = (Inside diameter of connecting rod bearing) - (Crankshaft pin diameter)
Standard: 0.020 - 0.039 mm (0.0008 - 0.0015 inches)
Limit: 0.055 mm (0.0022 inches)
^ If clearance cannot be adjusted within the standard, grind crank shaft pin and use undersized bearing. Refer to "HOW TO SELECT MAIN BEARING".

Method of Using Plastigage





^ Remove oil and dust on the crankshaft pin and surfaces of each bearing completely.
^ Cut a plastigage slightly shorter than the bearing width, and place it in the crankshaft axial direction, avoiding oil holes. Install the connecting rod bearings to the connecting rod and connecting rod bearing cap, and tighten the connecting rod bolts to the specified torque.

CAUTION: Do not rotate crankshaft with plastigage installed.

^ Remove the connecting rod bearing cap and bearings. Measure the plastigage width using the scale on the plastigage bag.

NOTE: The procedure when the measured value exceeds the repair limit is the same as that described in "Method of Measurement."

MAIN BEARING OIL CLEARANCE
Method of Measurement





^ Install the main bearings to the cylinder block and main bearing cap. Measure the main bearing inside diameter with the bearing cap bolt tightened to the specified torque. Refer to "ASSEMBLY". (Oil clearance) = (Inside diameter of main bearing) - (Crank shaft journal diameter)
Standard:
No. 1 and 5 journals: 0.001 - 0.011 mm (0.00004 - 0.0004 inches)
No. 2, 3 and 4 journals: 0.007 - 0.017 mm (0.0003 - 0.0007 inches)
Limit:
No. 1 and 5 journals: 0.021 mm (0.0008 inches)
No. 2, 3 and 4 journals: 0.027 mm (0.0011 inches)
^ If measured value exceeds the repair limit, select main bearings referring to the main bearing inside diameter and crankshaft journal diameter, so that the oil clearance satisfies the standard.

Method of Using Plastigage





^ Remove oil and dust on the crankshaft journal and surfaces of each bearing completely.
^ Cut a plastigage slightly shorter than the bearing width, and place it in crankshaft axial direction, avoiding oil holes.
^ Install the main bearings to the cylinder block and main bearing cap, and tighten the main bearing bolts to the specified torque.

CAUTION: Do not rotate crankshaft with plastigage installed. Remove bearing cap and bearings. Measure plastigage width using the scale on the plastigage bag.

NOTE: The procedure when the measured value exceeds the repair limit is the same as that described in "Method of Measurement".

CRUSH HEIGHT OF MAIN BEARING





^ When the bearing cap is removed after being tightened to the specified torque with main bearings installed, the tip end of the bearing must protrude. Refer to "ASSEMBLY" for the tightening procedure.
Standard: There must be crush height
^ If standard is not met, replace main bearings.

CRUSH HEIGHT OF CONNECTING ROD BEARING





^ When connecting rod bearing cap is removed after being tightened to the specified torque with the connecting rod bearings installed, the tip end of the bearing must protrude. Refer to "ASSEMBLY" for the tightening procedure.
Standard: There must be crush height.
^ If standard is not met, replace connecting rod bearings.

MAIN BEARING CAP BOLT DIAMETER





^ Check for bolts (M9 and M12) installed from lower side using the following procedure.

NOTE:
^ Side bolt (Ml0) is outside the target.
^ Figure shows M12 bolt.

^ Measure bolt diameter "d1" from tip of the bolt to dimension "a".
^ Measure bolt diameter "d2" from the dimension between tip of the bolt and dimension "b" as base station to dimension "c".

NOTE: If a narrower part in the threads is determined by visual check, measure "d2" at that point.

^ Calculate the difference between "d1" and "d2".
M9 bolt
Dimension "a": 9 mm (0.35 inches)
Dimension "b": 15 mm (0.59 inches)
Dimension "c": 20 mm (0.79 inches)
Limit: 0.10 mm (0.0039 inches)
M12 bolt
Dimension "a": 12 mm (0.47 inches)
Dimension "b": 55 mm (2.17 inches)
Dimension "c": 20 mm (0.79 inches)
Limit: 0.15 mm (0.0059 inches)
^ Replace applicable bolts if outside the limit.

CONNECTING ROD BOLT DIAMETER
^ Measure diameter "d" at position shown.





^ When "d" is out of specifications (when it becomes thinner), replace bolt with a new one.
Limit: 7.75 mm (0.3051 inches) or less.





CYLINDER BLOCK