Operation CHARM: Car repair manuals for everyone.
Manuals through 2025 now available!

Our trusted friends have launched a new website named LEMON, which has newer manuals. It also contains all the CHARM manuals.

LEMON is the spiritual successor to CHARM, I recommend you try it!

Link: lemon-manuals.la or lemon-manuals.org.ua

(Some people have issue connecting. LEMON is investigating. For now, use Firefox or change your DNS server)

Or, hide this message: temporarily or permanently

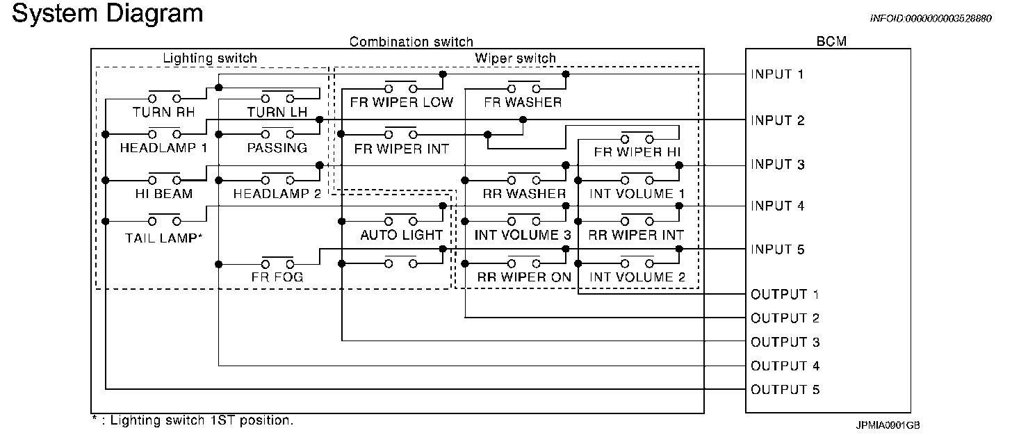
Combination Switch Reading System

COMBINATION SWITCH READING SYSTEM

System Diagram






System Description

OUTLINE
- BCM reads the status of the combination switch (light, turn signal, wiper and washer) and recognizes the status of each switch.
- BCM is a combination of 5 output terminals (OUTPUT 1 - 5) and 5 input terminals (INPUT 1 - 5). It reads a maximum of 20 switch status.

COMBINATION SWITCH MATRIX






Combination switch INPUT-OUTPUT system list









COMBINATION SWITCH READING FUNCTION

Description
- BCM reads the status of the combination switch at 10 ms interval normally.






NOTE: BCM reads the status of the combination switch at 60 ms interval when BCM is controlled at low power consumption mode.

- BCM operates as follows and judges the status of the combination switch.
- INPUT 1 - 5 outputs the voltage waveforms of 5 systems simultaneously.
- It operates the transistor on OUTPUT side in the following order: OUTPUT 5 ---> 4 ---> 3 ---> 2 ---> 1.
- The voltage waveform of INPUT corresponding to the formed circuit changes according to the operation of the transistor on OUTPUT side if any (1 or more) switches are ON.
- It reads this change of the voltage as the status signal of the combination switch.






Operation Example
In the following operation example, the combination of the status signals of the combination switch is replaced as follows: INPUT 1 - 5 to "1 - 5" and OUTPUT 1 - 5 to "A - E".

Example 1: When a switch (TURN RH switch) is turned ON
- The circuit between INPUT 1 and OUTPUT 5 is formed when the TURN RH switch is turned ON.






- BCM detects the combination switch status signal "1E" when the signal of OUTPUT 5 is input to INPUT 1.
- BCM judges that the TURN RH switch is ON when the signal "1E" is detected.

Example 2: When some switches (turn RH switch, front wiper LO switch) are turned ON
- The circuits between INPUT 1 and OUTPUT 5 and between INPUT 1 and OUTPUT 3 are formed when the TURN RH switch and FR WIPER LOW switch are turned ON.






- BCM detects the combination switch status signal "1CE" when the signals of OUTPUT 3 and OUTPUT 5 are input to INPUT 1.
- BCM judges that the TURN RH switch and FR WIPER LOW switch are ON when the signal "1CE" is detected.

WIPER INTERMITTENT DIAL POSITION SETTING (FRONT WIPER INTERMITTENT OPERATION)
BCM judges the wiper intermittent dial 1 - 7 by the status of INT VOLUME 1, 2 and 3 switches.