Operation CHARM: Car repair manuals for everyone.
Manuals through 2025 now available!

Our trusted friends have launched a new website named LEMON, which has newer manuals. It also contains all the CHARM manuals.

LEMON is the spiritual successor to CHARM, I recommend you try it!

Link: lemon-manuals.la or lemon-manuals.org.ua

(Some people have issue connecting. LEMON is investigating. For now, use Firefox or change your DNS server)

Or, hide this message: temporarily or permanently

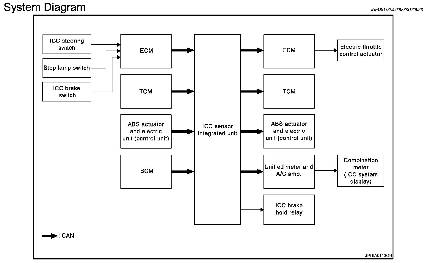
Intelligent Cruise Control System

FUNCTION DIAGNOSIS

INTELLIGENT CRUISE CONTROL SYSTEM

System Diagram






System Description
- The Intelligent Cruise Control (ICC) system automatically maintains a selected distance from the vehicle ahead according to that vehicle's speed, or the set speed, if the road ahead is clear.
- The ICC function has two cruise control modes and brake assist (with preview function).
- To activate or deactivate the ICC system and set the vehicle speed and vehicle-to-vehicle distance, use the ICC steering switch.
- The operation status of the ICC system is indicated on the ICC system display of the combination meter.

VEHICLE-TO-VEHICLE DISTANCE CONTROL MODE
- Vehicle-to-vehicle distance control mode, the driver can maintain the same speed as other vehicles without the constant need to adjust the set speed as the driver would with a normal cruise control system.
- The system is intended to enhance the operation of the vehicle when following the vehicle traveling in the same lane and direction.
- If the ICC sensor integrated unit detects a slower moving vehicle ahead, the system will reduce speed so that the vehicle ahead can be followed at the selected distance.
- The system automatically controls the throttle and applies the brakes (up to 25% of vehicle braking power) if necessary.
- The detection range of the sensor is approximately 390 ft (120 m) ahead.
- Refer to Owner's Manual for Intelligent Cruise Control System operating instructions.

CONVENTIONAL (FIXED SPEED) CRUISE CONTROL MODE
- Conventional (fixed speed) cruise control mode is cruising at preset speeds.
- Refer to Owner's Manual for Intelligent Cruise Control System operating instructions.

BRAKE ASSIST (WITH PREVIEW FUNCTION)
- When the force applied to brake pedal exceeds a certain level, the Brake Assist is activated and generates a greater braking force than that of a conventional brake booster even with light pedal force.
- When the Preview Function identifies the need to apply the sudden brake by sensing the vehicle ahead in the same lane and the distance and relative speed from it, it applies the brake pre-pressure before driver depresses the brake pedal and improves brake response by reducing its free play.
- Refer to Owner's Manual for BRAKE ASSIST (WITH PREVIEW FUNCTION) operating instructions.

ICC STEERING SWITCH






NOTE: The on board self-diagnosis function of the ICC system can be started with the RESUME/ACCELERATE switch and SET/COAST switch. Refer to CCS-23, "Diagnosis Description". Diagnosis Description









ICC SYSTEM DISPLAY




The multi information display (1) and ICC system warning lamp (2) in the combination meter indicate the operation status of the ICC system.

NOTE: When the on board self-diagnosis is run, ICC system DTC (s), if any, are displayed in the set vehicle speed indicator (3). Refer to CCS-23, "Diagnosis Description". Diagnosis Description





In Vehicle-To-Vehicle Distance Control Mode









In Conventional (Fixed Speed) Cruise Control Mode






ICC SENSOR INTEGRATED UNIT INPUT/OUTPUT SIGNAL ITEM









Component Description