Operation CHARM: Car repair manuals for everyone.
Manuals through 2025 now available!

Our trusted friends have launched a new website named LEMON, which has newer manuals. It also contains all the CHARM manuals.

LEMON is the spiritual successor to CHARM, I recommend you try it!

Link: lemon-manuals.la or lemon-manuals.org.ua

(Some people have issue connecting. LEMON is investigating. For now, use Firefox or change your DNS server)

Or, hide this message: temporarily or permanently

Tightening Torques













Cylinder Head Bolts

Diameter
Cylinder head bolts are tightened by plastic zone tightening method. Whenever the size difference between d1 and d2 exceeds the limit, replace the bolt with a new one.





Limit (d1 - d2) 0.23 mm (0.0091 in)

If reduction of diameter appears in a position other than d2, use it as d2 point.

Bolt Tightening Sequence





Step a 98.1 Nm (10 kg-m, 72 ft-lb)
Step b Loosen in the reverse order of tightening.
Step c 44.1 Nm (4.5 kg-m, 33 ft-lb)
Step d 70° clockwise

Intake Manifold Bolts 8.3 Nm (0.85 kg-m, 73 in-lbs.)

Camshaft Bearing Cap Bolts





Step 1 (bolts 9 - 12) 2.0 Nm (0.2 kg-m, 17 in-lb)
Step 2 (bolts 1 - 8) 2.0 Nm (0.2 kg-m, 17 in-lb)
Step 3 (all bolts) 5.9 Nm (0.6 kg-m, 52 in-lb)
Step 4 (all bolts) 10.4 Nm (1.1 kg-m, 92 in-lb)

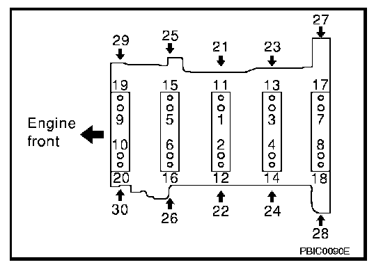
Main Bearing Cap Bolts





Bolts 1 to 10 39.2 Nm (4.0 kg-m, 29 ft-lb)
Sub bolts 11 to 20 29.4 Nm (3.0 kg-m, 22 ft-lb)
Bolts 1 to 10 Tighten 40°
Sub bolts 11 to 20 Tighten 30°
Side bolts 21 to 30 49 Nm (5.0 kg-m, 36 ft-lb)

Connecting rod bolts
Step 1 19.6 Nm (1.5 kg-m, 11 ft-lb)
Step 2 90° clockwise

Crankshaft pulley bolt
Step 1 93.1 Nm (9.5 kg-m, 69 ft-lb)
Step 2 additional 90° (angle tightening)

Flex Plate Bolts 88.2 Nm (9.0 kg-m, 65 ft-lbs.)

Oil Pump Bolts
Body mounting bolts 11.0 Nm (1.1 kg-m, 8 ft-lbs.)
Pump cover bolts 6.9 Nm (0.70 kg-m, 61 in-lbs.)

Exhaust Manifold Nuts
Replace the nuts





First pass 33.9 Nm (3.5 kg-m, 25 ft-lbs.) in numerical order
Final pass Recheck torque of nuts both (A) and (B)

Water Pump Bolts 24.5 Nm (2.5 kg-m, 18 ft-lbs.)