Operation CHARM: Car repair manuals for everyone.
Manuals through 2025 now available!

Our trusted friends have launched a new website named LEMON, which has newer manuals. It also contains all the CHARM manuals.

LEMON is the spiritual successor to CHARM, I recommend you try it!

Link: lemon-manuals.la or lemon-manuals.org.ua

(Some people have issue connecting. LEMON is investigating. For now, use Firefox or change your DNS server)

Or, hide this message: temporarily or permanently

System Description





CONVENTIONAL (FIXED SPEED) CRUISE CONTROL MODE FUNCTION


System Description


FUNCTION DESCRIPTION
This mode allows driving at a speed between 40 to 144 km/h (25 to 90 MPH) without keeping foot on the accelerator pedal.

NOTE:
In the conventional (fixed speed) cruise control mode, a warning chime does not sound to warn driver if own vehicle are too close to the vehicle ahead, as neither the presence of the vehicle ahead nor the vehicle-to-vehicle distance is detected.

OPERATION DESCRIPTION
To turn ON the conventional (fixed speed) cruise control mode, push and hold the MAIN switch for longer than approximately 1.5 seconds when ICC system is OFF.
When pushing the MAIN switch ON, the ICC system display and the MAIN switch indicator are displayed on the information display.
After hold the MAIN switch ON for longer than approximately 1.5 seconds, the ICC system display goes out.
The MAIN switch indicator stays lit and brings the system to standby state.

NOTE:
- To turn on the vehicle-to-vehicle distance control mode again, turn OFF the system and quickly push (less than 1.5 seconds) the MAIN switch.
- When the DCA system is ON, the conventional (fixed speed) cruise control mode cannot be turned on even though the MAIN switch is pushed and held.
- To turn ON the conventional (fixed speed) cruise control mode, turn OFF the DCA system. System Description.
ICC sensor integrated unit performs the control as per the following:






Set Condition
When the system is under a standby state and the vehicle speed is between approximately 40 km/h (25 MPH) and 144 km/h (90 MPH), pushing the SET/COAST switch will start system control.
If the system is canceled by conditions 1-6 below, the system will resume control at the last set cruising speed by pushing the RESUME/ACCELERATE switch.

Cancel conditions
1. When CANCEL switch is pressed.
2. When brake pedal depressed.
3. When the vehicle speed falls below approximately 32 km/h (20 MPH).
4. When the vehicle slows down more than 13 km/h (8 MPH) below the set speed.
5. When the selector lever is not in the "D", "DS" position or manual mode.
6. When the parking brakes are applied.
7. When the MAIN switch is turned OFF.
8. When VDC (including the TCS) operates.
9. When a wheel slips.
10. When the system malfunction occurs.

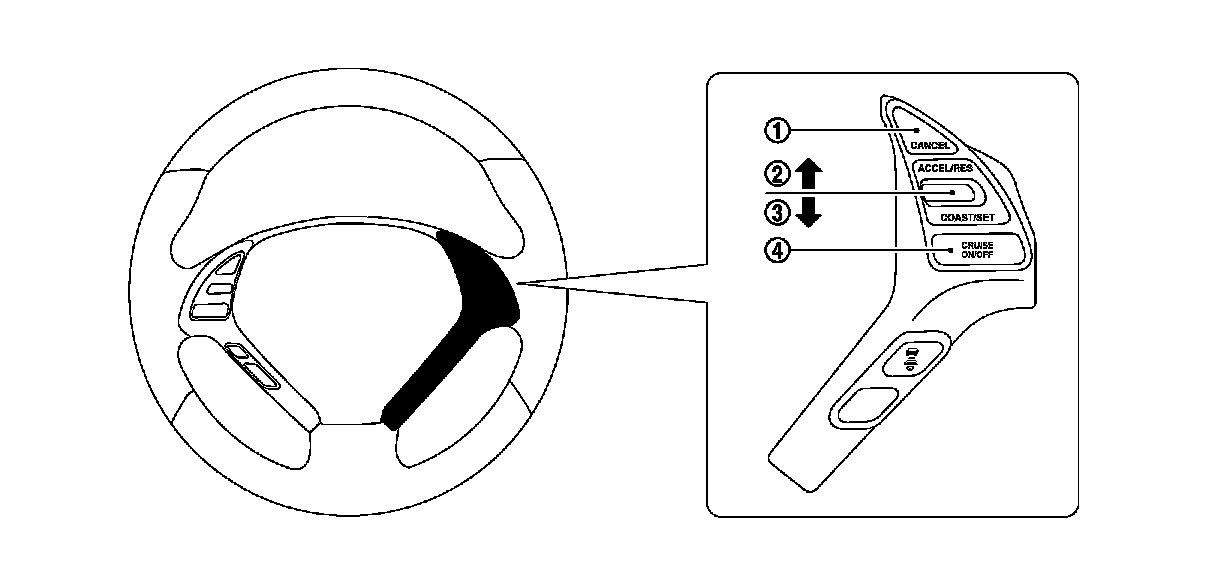
OPERATION AND DISPLAY

ICC Steering Switch















ICC System Display (On The Information Display)











System Control Condition Display
Push and hold the MAIN switch for longer than approximately 1.5 seconds. This mode will be in a standby state for setting.






Warning and Automatic Cancellation Display