Operation CHARM: Car repair manuals for everyone.
Manuals through 2025 now available!

Our trusted friends have launched a new website named LEMON, which has newer manuals. It also contains all the CHARM manuals.

LEMON is the spiritual successor to CHARM, I recommend you try it!

Link: lemon-manuals.la or lemon-manuals.org.ua

(Some people have issue connecting. LEMON is investigating. For now, use Firefox or change your DNS server)

Or, hide this message: temporarily or permanently

Check Key Slot





INTELLIGENT KEY SYSTEM


Check Key Slot

1.CHECK KEY SLOT INPUT SIGNAL
Check voltage between Intelligent Key unit harness connector and ground.










OK or NG
OK - Key slot is OK.
NG - GO TO 2.
2.CHECK KEY SLOT POWER SUPPLY CIRCUIT
1. Turn ignition switch OFF.
2. Disconnect key slot connector.
3. Check voltage between slot connector and ground.










OK or NG
OK - GO TO 3.
NG - Repair or replace key slot power supply circuit.
3.CHECK KEY SLOT
Check key slot.










OK or NG
OK - GO TO 4.
NG - Replace key slot.
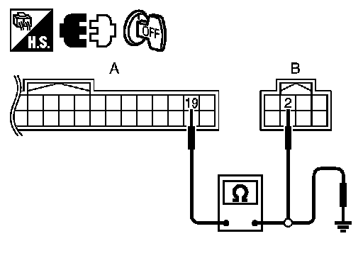
4.CHECK KEY SLOT GROUND CIRCUIT
Check continuity between key slot connector and ground.










OK or NG
OK - GO TO 5.
NG - Repair or replace key slot ground circuit.
5.CHECK KEY SWITCH CIRCUIT
1. Disconnect Intelligent Key unit connector.
2. Check continuity between Intelligent Key unit connector 7 and key slot connector.










3. Check continuity between Intelligent Key unit connector and ground.





OK or NG
OK - Check the condition of harness and harness connector.
NG - Repair or replace harness between Intelligent Key unit and key slot.