Operation CHARM: Car repair manuals for everyone.
Manuals through 2025 now available!

Our trusted friends have launched a new website named LEMON, which has newer manuals. It also contains all the CHARM manuals.

LEMON is the spiritual successor to CHARM, I recommend you try it!

Link: lemon-manuals.la or lemon-manuals.org.ua

(Some people have issue connecting. LEMON is investigating. For now, use Firefox or change your DNS server)

Or, hide this message: temporarily or permanently

System Description





SHIFT LOCK SYSTEM


System Description

- Shift lock prevents an unintentional start of the vehicle that may be caused by an incorrect operation while selector lever is in the "P" position.
- Selector lever can be shifted from the "P" position to another position when the following conditions are satisfied.
- Ignition switch ON
- Stop lamp switch is ON (brake pedal is depressed)
- Selector lever knob button is pressed

SHIFT LOCK OPERATION AT "P" POSITION

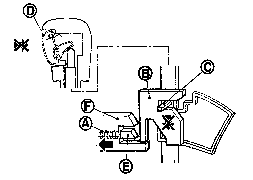
When Brake Pedal Is Not Depressed (No Shift Operation Allowed)





The shift lock solenoid (A) inside the shift lock unit is not energized if the brake pedal is not depressed while the ignition switch is ON.
The lock plate (B) lowers according to the downward movement of the position pin (C) when the selector button (D) is pressed, and presses only slider B (E) into the shift lock unit. Slider A (F) located below the lock plate prevents the downward movement of the lock plate with the spring force. The selector lever cannot be shifted from the "P" position for this reason.
However, slider A is forcibly pressed into the shift lock unit, allowing the selector lever to shift if the shift lock release button is pressed.

When Brake Pedal Is Depressed (Shift Operation Allowed)





The shift lock solenoid (A) inside the shift lock unit is energized and the relative positions of sliders A (B) and B (C) are maintained when the brake pedal is depressed while the ignition switch is ON.
The lock plate (D) lowers according to the downward movement of the position pin (E), thrusting away sliders A and B, when the selector button (F) is pressed.
The position pin lowers to the position that allows shift operation for this reason. As a result, the selector lever can be shifted out of the P position.

OPERATION AT OTHER THAN "P" POSITION





The shift lock function will not operate at any position other than "P" because the lock plate (A) is only set for the "P" position. Accordingly, the selector lever can be shifted to any position regardless of the brake operation.
The position pin (B) enters the "P" position thrusting away the lock plate when the selector lever is shifted to the "P" position. Then, the shift mechanism is locked when the selector button (C) is released.

"P" POSITION RETAINING MECHANISM (IGNITION SWITCH LOCK)
When ignition switch is not in the ON position, power is not applied to the shift lock solenoid in the shift lock unit. This causes shift lock state, and then "P" position is retained.
When an actuating system in the shift lock unit has a malfunction, selector lever is unable to operate from the "P" position even when pressing the brake pedal with the ignition switch ON. However, when pressing the shift lock release button, slider A is forcibly pressed into the shift lock unit. This allows shift lock to be released and selector lever enables the select operation from the "P" position.

CAUTION:
Never use the shift lock release button except when the select lever is inoperative even when pressing the brake pedal with the ignition switch ON.