Operation CHARM: Car repair manuals for everyone.
Manuals through 2025 now available!

Our trusted friends have launched a new website named LEMON, which has newer manuals. It also contains all the CHARM manuals.

LEMON is the spiritual successor to CHARM, I recommend you try it!

Link: lemon-manuals.la or lemon-manuals.org.ua

(Some people have issue connecting. LEMON is investigating. For now, use Firefox or change your DNS server)

Or, hide this message: temporarily or permanently

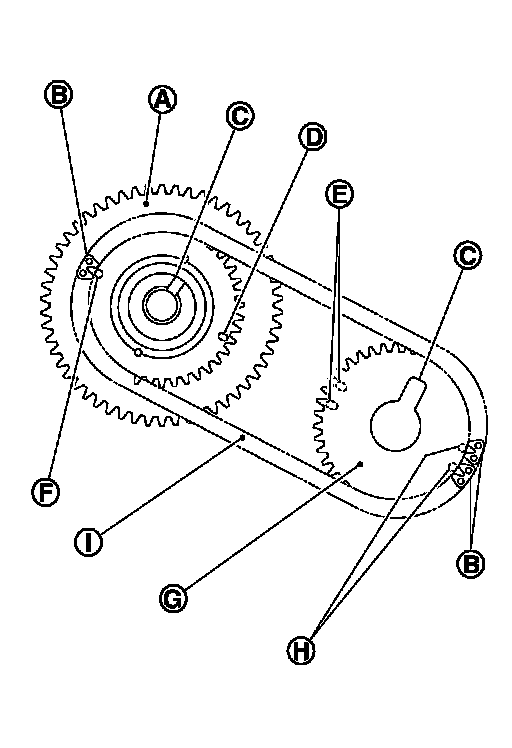
Timing Component Alignment Marks: Locations




Timing Component Alignment Marks

NOTE:
The figure below shows the relationship between the matching mark on each timing chain and that on the corresponding sprocket with the components installed.















1. Check that dowel pin (A) and crankshaft key (1) are located as shown in the figure. (No. 1 cylinder at compression TDC)





b. Install timing chains (secondary) and camshaft sprockets.

NOTE:
Figure shows bank 1 (rear view).

A : Camshaft sprocket (INT) back face
B : Orange link
C : Dowel groove
D : Matching mark (oval)
E : Matching mark (2 oval: on front face)
F : Matching mark (circle)
G : Camshaft sprocket (EXH) back face
H : Matching mark (2 circle: on front face)
I : Timing chain (secondary

- Align the matching marks on timing chain (secondary) (orange link) with the ones on intake and exhaust camshaft sprockets
(punched), and install them.

NOTE:
- Matching marks for camshaft sprockets (INT) are on the back side of camshaft sprockets (secondary).
- There are two types of matching marks, the circle and oval types. They should be used for the bank 1 and bank 2, respectively.

Bank 1 : Use circle type
Bank 2 : Use oval type





- Shape (orientation of signal plate) of camshaft sprocket (INT) varies depending on the bank position. See the right figure to install.

A : Bank 1
B : Bank 2

- Align dowel pin camshafts with the pin groove on sprockets, and install them.
- In case that positions of each matching mark and each dowel pin do not fit with matching parts, make fine adjustment to the position holding the hexagonal portion on camshaft (EXH) or drive shaft with wrench or equivalent tool.
- Mounting bolts for camshaft sprockets must be tightened in the next step. Tightening them by hand is sufficient to prevent the dislocation of dowel pins.





- It may be difficult to visually check the dislocation of matching marks during and after installation. To make the matching easier, make a matching mark on the top of sprocket teeth and its extended line in advance with paint.

A : Matching mark (painted)
B : Matching mark (orange link)