Operation CHARM: Car repair manuals for everyone.
Manuals through 2025 now available!

Our trusted friends have launched a new website named LEMON, which has newer manuals. It also contains all the CHARM manuals.

LEMON is the spiritual successor to CHARM, I recommend you try it!

Link: lemon-manuals.la or lemon-manuals.org.ua

(Some people have issue connecting. LEMON is investigating. For now, use Firefox or change your DNS server)

Or, hide this message: temporarily or permanently

Work Procedure





CONFIGURATION (TRANSFER CONTROL UNIT)


Work Procedure


NOTE:
In fail-safe mode, can not perform work support. (Except that DTC P181F is detected.)
1.CONFIRM REPLACING PARTS
Confirm the replacing parts.
What is the replacing parts?
Transfer control unit-GO TO 2.
Transfer control actuator-GO TO 3.
Transfer assembly-GO TO 4.
2.WRITE UNIT PARAMETER (1)
With CONSULT-III
1. Make the new unit parameter with the following procedure.





- Confirm the alphabet of unit parameter (A).

NOTE:
- This illustration is sample.
- For this illustration, the unit parameter is "G3" and the alphabet of unit parameter is "G".





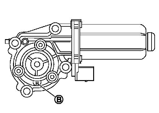
- Confirm the alphabet of transfer control actuator parameter (B).

NOTE:
- Original transfer control actuator does not have marking of alphabet.
- Just in case that transfer control actuator has been replaced, it has marking of alphabet.
- This illustration is sample of replaced transfer control actuator.
- For this illustration, the alphabet of transfer control actuator parameter is "H".
- Make new alphabet of unit parameter as to the alphabets of unit parameter and the transfer control actuator parameter, using following chart.






NOTE:
For the sample illustrations, the new alphabet of unit parameter is "F".
- Add the same number of unit parameter behind the new alphabet of unit parameter.

NOTE:
For the sample illustration, the number of unit parameter is "3" and new unit parameter is "F3".
2. Turn the ignition switch OFF to ON.
3. Select "UNIT CHARACTERISTICS WRITE" of CONSULT-III "WORK SUPPORT" for "ALL MODE AWD/4WD".
4. Input new unit parameter.
5. Select "Start".
6. Check that "UNIT CHARACTERISTICS WRITE COMPLETED" or "UNIT CHARACTERISTICS WRITE
ALREADY WRITTEN" is displayed.
- WORK END.
3.WRITE UNIT PARAMETER (2)
With CONSULT-III
1. Make the new unit parameter with the following procedure.





- Confirm the alphabet of unit parameter (A).

NOTE:
- This illustration is sample.
- For this illustration, the unit parameter is "G3" and the alphabet of unit parameter is "G".





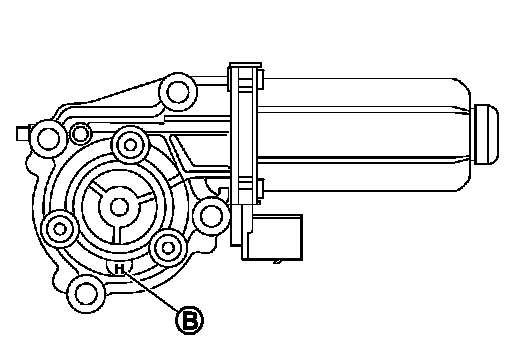
- Confirm the alphabet of transfer control actuator parameter (B).

NOTE:
- Original transfer control actuator does not have marking of alphabet.
- Just in case that transfer control actuator has been replaced, it has marking of alphabet.
- This illustration is sample of replaced transfer control actuator.
- For this illustration, the alphabet of transfer control actuator parameter is "H".
- Make new alphabet of unit parameter as to the alphabets of unit parameter and the transfer control actuator parameter, using following chart.






NOTE:
For the sample illustrations, the new alphabet of unit parameter is "F".
- Add the same number of unit parameter behind the new alphabet of unit parameter.

NOTE:
For the sample illustration, the number of unit parameter is "3" and new unit parameter is "F3".
2. Turn the ignition switch OFF to ON.
3. Select "UNIT CHARACTERISTICS WRITE" of CONSULT-III "WORK SUPPORT" for "ALL MODE AWD/4WD".
4. Input new unit parameter.
5. Select "Start".
6. Check that "UNIT CHARACTERISTICS WRITE COMPLETED" or "UNIT CHARACTERISTICS WRITE
ALREADY WRITTEN" is displayed.
- WORK END.
4.WRITE UNIT PARAMETER (3)
With CONSULT-III





1. Confirm the unit parameter (A).

NOTE:
- This illustration is sample.
- For this illustration, the unit parameter is "G3".
2. Turn the ignition switch OFF to ON.
3. Select "UNIT CHARACTERISTICS WRITE" of CONSULT-III
"WORK SUPPORT" for "ALL MODE AWD/4WD".
4. Input unit parameter.
5. Select "Start".
6. Check that "UNIT CHARACTERISTICS WRITE COMPLETED" or "UNIT CHARACTERISTICS WRITE ALREADY WRITTEN" is displayed.
- WORK END.