Operation CHARM: Car repair manuals for everyone.
Manuals through 2025 now available!

Our trusted friends have launched a new website named LEMON, which has newer manuals. It also contains all the CHARM manuals.

LEMON is the spiritual successor to CHARM, I recommend you try it!

Link: lemon-manuals.la or lemon-manuals.org.ua

(Some people have issue connecting. LEMON is investigating. For now, use Firefox or change your DNS server)

Or, hide this message: temporarily or permanently

Cylinder Head Assembly






Cylinder Head Bolts

Tighten cylinder head bolts in numerical order as shown in figure.





A: Bank 2
B: Bank 1
Arrow: Engine front

Tighten all cylinder head bolts 40 N-m (4.1 kg-m, 30 ft-lb)
Tighten all cylinder head bolts 75° clockwise
Completely loosen all bolts in reverse order 0 N-m (0 kg-m, 0 ft-lb)
Tighten all cylinder head bolts 40.0 N-m (4.1 kg-m, 30 ft-lb)
Tighten all cylinder head bolts Tighten 65° clockwise
Tighten all cylinder head bolts again Tighten 65° clockwise

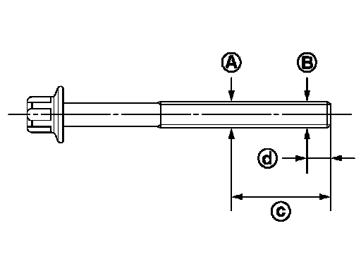
Cylinder Head Bolt Inspection

Whenever the size difference between (B) and (A) exceeds the limit, replace bolts with new ones.





Limit [(B) - (A)] 0.18 mm (0.0071 in)

c: 55 mm (2.17 in)
d: 12 mm (0.47 in)

If reduction of outer diameter appears in a position other than (A), use it as (A) point.

Camshaft Bracket Mounting Bolts

Tighten mounting bolts in the following step, in numerical order as shown.





A: Bank 2
B: Bank 1
Arrow: Engine front

Tighten bolts 1.96 N-m (0.20 kg-m, 1 ft-lb)
Tighten bolts 5.88 N-m (0.60 kg-m, 4 ft-lb)
Tighten bolts 10.4 N-m (1.1 kg-m, 8 ft-lb)

Intake Manifold Bolts [1][2]Intake Manifold

Exhaust Manifold Nuts Specifications

Camshaft Sprocket Bolts Specifications