Operation CHARM: Car repair manuals for everyone.
Manuals through 2025 now available!

Our trusted friends have launched a new website named LEMON, which has newer manuals. It also contains all the CHARM manuals.

LEMON is the spiritual successor to CHARM, I recommend you try it!

Link: lemon-manuals.la or lemon-manuals.org.ua

(Some people have issue connecting. LEMON is investigating. For now, use Firefox or change your DNS server)

Or, hide this message: temporarily or permanently

Cylinder Head Assembly







SERVICE DATA AND SPECIFICATIONS (SDS)

Cylinder Head


CYLINDER HEAD

Unit: mm (in)











VALVE DIMENSIONS

Unit: mm (in)











VALVE GUIDE

Unit: mm (in)











VALVE SEAT

Unit: mm (in)











VALVE SPRING






Cylinder Head Bolts Outer Diameter:









Cylinder head bolts are tightened by plastic zone tightening method. Whenever the size difference between (B) and (A) exceeds the limit, replace them with new one.

Cylinder Head Bolts:









Install cylinder head, and tighten cylinder head bolts in numerical order as shown in figure as follows:

Tighten 105 Nm (11 kg-m, 77 ft-lb)

Completely loosen in the reverse order 0 Nm (0 kg-m, 0 ft-lb)

Tighten 40.0 Nm (4.1 kg-m, 30 ft-lb)

Turn 95 degrees clockwise (angle tightening)

Turn 95 degrees clockwise again (angle tightening).

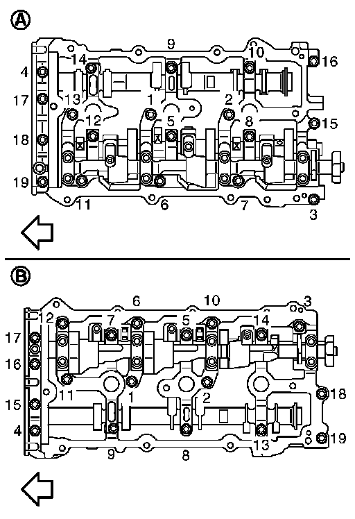
Camshaft Bearing Cap Bolts:









Tighten mounting bolts in the following step, in numerical order as shown in the figure.

Tighten 1.96 Nm (0.20 kg-m, 1 ft-lb)

Tighten 5.88 Nm (0.60 kg-m, 4 ft-lb)

Tighten 10.4 Nm (1.1 kg-m, 8 ft-lb)

Intake Manifold [1][2]Intake Manifold

Exhaust Manifold [1][2]Exhaust Manifold

Camshaft Gear/Sprocket Specifications