Operation CHARM: Car repair manuals for everyone.
Manuals through 2025 now available!

Our trusted friends have launched a new website named LEMON, which has newer manuals. It also contains all the CHARM manuals.

LEMON is the spiritual successor to CHARM, I recommend you try it!

Link: lemon-manuals.la or lemon-manuals.org.ua

(Some people have issue connecting. LEMON is investigating. For now, use Firefox or change your DNS server)

Or, hide this message: temporarily or permanently

Cylinder Head Assembly







SERVICE DATA AND SPECIFICATIONS (SDS)

Cylinder Head


CYLINDER HEAD

Unit: mm (in)











VALVE DIMENSIONS

Unit: mm (in)











VALVE GUIDE

Unit: mm (in)











VALVE SEAT

Unit: mm (in)












VALVE SPRING







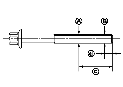
Cylinder Head Bolts Outer Diameter:





Whenever the size difference between (B) and (A) exceeds the limit, replace them with new one. If reduction of outer diameter appears in a position other than (A), use it as (A) point.






Cylinder Head Bolts:








Install cylinder head bolts in numerical order as shown in figure.
Tighten 40.0 Nm (4.1 kg-m, 30 ft-lb)
Tighten (clockwise) Angle tightening: 75 degrees
Completely loosen in reverse order 0 Nm (0 kg-m, 0 ft-lb)
Tighten 40.0 Nm (4.1 kg-m, 30 ft-lb)
Tighten (clockwise) Angle tightening: 90 degrees
Tighten again (clockwise) Angle tightening: 90 degrees

Camshaft Mounting Bolts:








Tighten mounting bolts in the following step, in numerical order as shown.

Tighten 1.96 Nm (0.20 kg-m, 1 ft-lb)
Tighten 5.88 Nm (0.60 kg-m, 4 ft-lb)
Tighten 10.4 Nm (1.1 kg-m, 8 ft-lb)

Intake Manifold Specifications

Exhaust Manifold [1][2]Exhaust Manifold

Camshaft Gear/Sprocket Specifications