Operation CHARM: Car repair manuals for everyone.
Manuals through 2025 now available!

Our trusted friends have launched a new website named LEMON, which has newer manuals. It also contains all the CHARM manuals.

LEMON is the spiritual successor to CHARM, I recommend you try it!

Link: lemon-manuals.la or lemon-manuals.org.ua

(Some people have issue connecting. LEMON is investigating. For now, use Firefox or change your DNS server)

Or, hide this message: temporarily or permanently

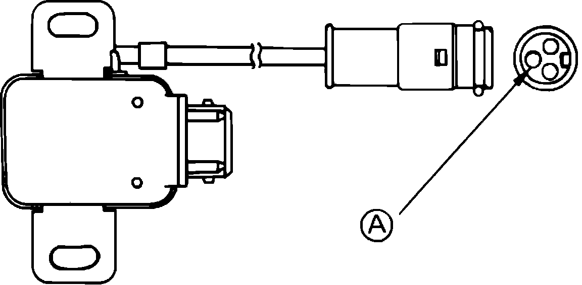
Throttle Position Sensor: Testing and Inspection

Fig. 207 Checking TPS:





1. Check that the operation of the accelerator pedal and cable is smooth.
2. Check that the stopper returns all the way to the seated position against the stopper screw.
3. Disconnect throttle position sensor harness at connector, Fig. 207.
4. Turn the ignition switch ON.
5. Place the circuit tester positive probe in terminal "A".
6. Measure the voltage at terminal "A" at idle. Readings should be higher than 4 volts.
7. Measure the readings at full throttle, the readings should be less than 2 volts.
8. If readings are out of specifications and adjustment does not fix the condition, replace the throttle sensor assembly.