Operation CHARM: Car repair manuals for everyone.
Manuals through 2025 now available!

Our trusted friends have launched a new website named LEMON, which has newer manuals. It also contains all the CHARM manuals.

LEMON is the spiritual successor to CHARM, I recommend you try it!

Link: lemon-manuals.la or lemon-manuals.org.ua

(Some people have issue connecting. LEMON is investigating. For now, use Firefox or change your DNS server)

Or, hide this message: temporarily or permanently

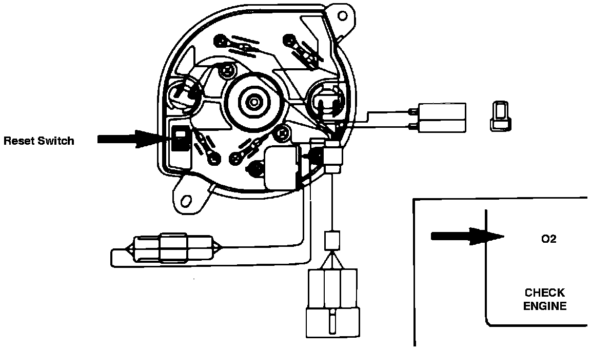
Maintenance Reminder Light (O2 Sensor Lamp)

Maintainence Reminder Light Reset:





At 90,000 mile intervals, the O2 sensor lamp will illuminate.
After replacing the sensor, perform the following procedure to reset the lamp.

- Remove instrument cluster.
- Operate switch on back of speedometer.
- Install instrument cluster.

NOTE: This procedure will occur at 90,000 mile mile intervals.