Operation CHARM: Car repair manuals for everyone.
Manuals through 2025 now available!

Our trusted friends have launched a new website named LEMON, which has newer manuals. It also contains all the CHARM manuals.

LEMON is the spiritual successor to CHARM, I recommend you try it!

Link: lemon-manuals.la or lemon-manuals.org.ua

(Some people have issue connecting. LEMON is investigating. For now, use Firefox or change your DNS server)

Or, hide this message: temporarily or permanently

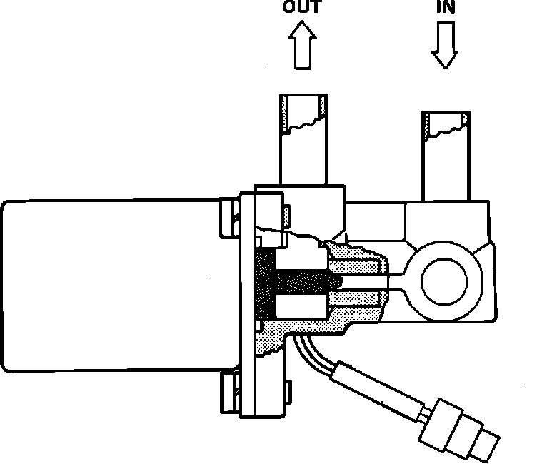
Idle Up Control Valve: Description and Operation

Fast Idle Solenoid:






The fast idle solenoid is located in-line with a hose that allows air to bypass the throttle valve. When the solenoid is "ON" to allow bypass air to flow, idle speed is increased to compensate for various engine loads. The air regulator is a separate device with a related function, but it only operates to raise idle speed during cold, fast idle conditions.

The fast idle solenoid is energized to increase idle speed under these conditions:

1. A/C blower motor switch is in position "4."
2. Headlights are turned "ON."
3. Automatic transmission selector is in either "D," "1," "2" OR "R."