Operation CHARM: Car repair manuals for everyone.
Manuals through 2025 now available!

Our trusted friends have launched a new website named LEMON, which has newer manuals. It also contains all the CHARM manuals.

LEMON is the spiritual successor to CHARM, I recommend you try it!

Link: lemon-manuals.la or lemon-manuals.org.ua

(Some people have issue connecting. LEMON is investigating. For now, use Firefox or change your DNS server)

Or, hide this message: temporarily or permanently

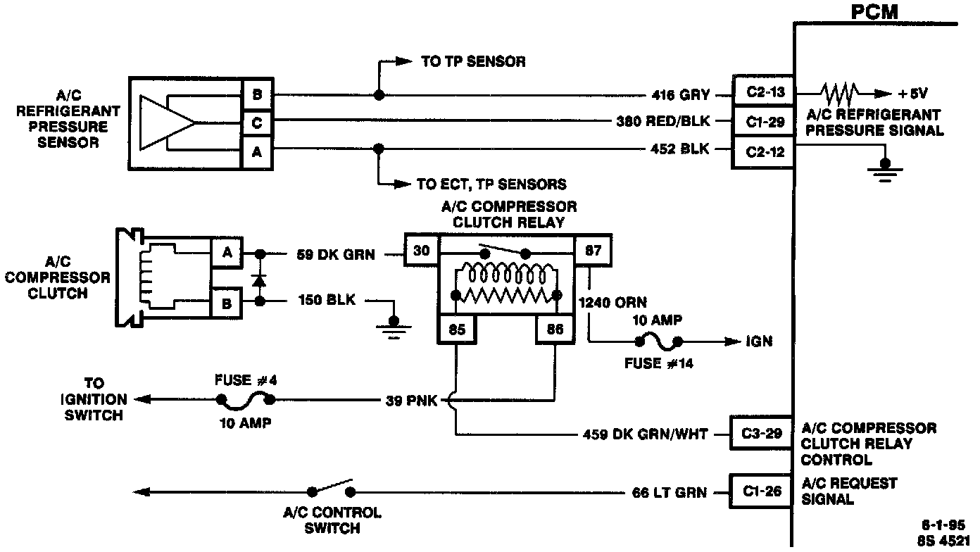
A/C Signal: Testing and Inspection

A/C Compressor Clutch Control Circuit:




Circuit Description
When the A/C is requested the Powertrain Control Module (PCM) provides a ground path through A/C compressor relay circuit. When the A/C compressor relay control circuit is grounded the A/C compressor clutch relay is then energized. After the A/C request has been selected the PCM will delay grounding the A/C compressor relay control circuit for 0.3 second. This allows the PCM to adjust the engine idle RPM for the additional load.
The PCM will temporarily de-energize the A/C compressor clutch relay for one or more of the following conditions:
- A hot engine restart.
- A wide Open Throttle (WOT) (Throttle Position (TP) sensor over 90%).
- Engine Speed is greater than 6000 RPM.
- An Idle Air Control (IAC) valve reset.

The A/C compressor clutch relay will remain de-energized when one or both of the following conditions exist:
- A DTC P0530 is set.
- There is no A/C request signal due to an open A/C select switch circuitry.

Diagnostic Aids
If the complaint is insufficient cooling, the problem may be caused by an inoperative cooling fan.
An A/C refrigerant pressure outside the range of 43 to 428 psi, will cause the A/C compressor clutch to be disabled by the PCM. Observe the A/C refrigerant pressure parameter on the scan tool for 2 minutes with the engine idling and A/C "ON."

A/C Compressor Clutch Control Diagnosis (1 Of 2):




A/C Compressor Clutch Control Diagnosis (2 Of 2):




Test Description
Test Description Numbers below refer to the step numbers on the Diagnostic Table.
1. The OBD System Check prompts the technician to store the Freeze Frame Data in the scan tool. This will create an electronic copy of the freeze frame data taken when the fault occurred that can be referred to later.
2. The PCM will only energize the A/C relay when the engine is running. This test will determine if the A/C compressor relay control circuit is faulty.
5. Determines if the signal is reaching the PCM from the A/C control panel. The signal should only be present when an A/C mode or defrost mode has been selected.
7. This will determine if the A/C refrigerant pressure sensor is out of range causing the A/C compressor clutch to disable.
11. With the engine "OFF" and the A/C relay commanded "ON" the PCM should ground the A/C compressor relay control circuit. This should illuminate the test light.